Formes fermées Le récipient est de forme fermée lorsque le diamètre de l'embouchure est inférieur ou égal à la hauteur générale du vase.
Pot Récipient ovoïde à globulaire dont la taille varie beaucoup, mais dont le diamètre d'embouchure est proche du diamètre maximum de la panse.
Pot 1 Récipient globulaire à ovoïde qui se caractérise par l'absence de système de préhension et un col particulièrement court, voire absent.
Pot 1-1 Récipient ovoïde avec un col court et une lèvre en crochet.
Son fond est plat ou concave. Datation : 6e - première moitié 7e s. Lieu de découverte : la Saulsotte (Atelier) in : Georges-Leroy, Lenoble 1993, p. 249 Département : 10
Pot 1-2 Récipient ovoïde à globulaire avec un col court et une lèvre carrée parfois en gouttière.
Son fond est plat. Datation : fin 5e - première moitié 6e s. Lieu de découverte : Buchères Département : 10
Pot 1-3 Récipient globulaire ou tronconique avec un fond plat ou concave et une lèvre triangulaire avec un parement externe concave et une terminaison sommitale arrondie. Quelques exemplaires ont le parement de la lèvre plat. Datation : seconde moitié du 7e - première moitié du 8e s. Lieu de découverte : Dizy in : Verbrugghe 2007, fig. 37 Département : 51
Pot 1-4 Récipient globulaire à fond plat avec une lèvre en bourrelet arrondi.
Des trous de suspension sont percés au niveau du col. Datation : 9e - 10e s. Lieu de découverte : Verrières in : Lenoble 2000, p. 84 Département : 10
Pot 1-5 Récipient globulaire à fond plat ou légèrement bombé à lèvre étirée en gouttière.
Des trous de suspension sont percés au niveau du col. Datation : seconde moitié du 8e - 9e s. Lieu de découverte : Dizy in : Verbrugghe 2007, fig. 44 Département : 51
Pot 1-6 Récipient ovoïde à globulaire à fond plat marqué avec une lèvre déjetée de forme carrée. Datation : 10e - 11e s. Lieu de découverte : Montpothier in : Georges-Leroy, Lenoble 1993, p. 260 Département : 10
Pot 1-7 Récipient globulaire à fond lenticulaire ou plat avec une lèvre carrée horizontale ("proto-bandeau") plus ou moins longue. Datation : 11e - début 12e s. Lieu de découverte : Saint-Memmie Département : 51
Pot 1-8 Récipient globulaire à lèvre en bandeau court.
Quelques exemplaires ont des traces de tour bien marquées ou un fond lenticulaire. Datation : 11e - 12e s. Lieu de découverte : Dizy Département : 51
Pot 1-9 Récipient ovoïde avec une lèvre en bandeau long bien marqué avec une terminaison arrondie. Datation : 12e - 13e s. Lieu de découverte : Nogent-sur-Seine in : Lenoble 2000, p. 89 Département : 10
Pot 1-10 Récipient ovoïde avec une lèvre en bandeau long rabattue sur l’intérieur et un fond plat ou légèrement concave.Les exemplaires les plus précoces ont une lèvre moins rentrante que par la suite. Datation : fin 13e - première moitié 14e s. Lieu de découverte : Marcilly-sur-Seine Département : 51
Pot 1-11 Récipient ovoïde à lèvre en inflexion externe à profil anguleux et face supérieure concave et à fond plat ou légèrement bombé. Quelques exemplaires ont des traces de tour bien marquées sur la panse. Datation : 13e - début 14e s. Lieu de découverte : Moussey in : Lenoble 2000, p. 89 Département : 10
Pot 1-12 Récipient semblable au pot 1-11 mais de plus petite taille et avec un verseur fait par déformation
de la lèvre (bec pincé). Datation : 13e - début 14e s. Lieu de découverte : Moussey in : Lenoble 2000, p. 89 Département : 10
Pot 1-13 Récipient globulaire à fond lenticulaire avec une lèvre en hache. Sur certains exemplaires des traces de tour sont bien marquées. Datation : 11e s. Lieu de découverte : Warmeriville, La Bassière, in : Mahé-Hourlier 2016, p. 579 Département : 51
Pot 1-14 Récipient ovoïde à globulaire avec une base concave et une lèvre en bourrelet retroussé à l'intérieur. Datation : 6e - 7e siècle Lieu de découverte : Buchères Département : 10
Pot 1-15 Récipient ovoïde à globulaire dont seule la moitié supérieure subsiste. La lèvre est déjetée avec une forte gouttière ou en très léger bandeau. Datation : 6e s. Lieu de découverte : Bréviandes Département : 10
Pot 1-16 Récipient globulaire avec un fond lenticulaire et une lèvre en faucille (ou en crosse). Quelques exemplaires sont équipés de trous de suspension. Datation : 8e s. Lieu de découverte : Warmeriville, La Bassière, in : Mahé-Hourlier 2016, p. 574 Département : 51
Pot 1-17 Pot globulaire conservé au deux tiers. Il a une lèvre déjetée en gouttière. Datation : 9e - 10e s. Lieu de découverte : Dizy Département : 51
Pot 1-18 Récipient ovoïde avec une lèvre en crosse ou en crochet aplati et un fond concave. Quelques exemplaires ont des trous de suspension percés avant cuisson au niveau du col. Datation : mi 6e - mi 7e siècles Lieu de découverte : Juvigny Département : 51
Pot 2 Récipient ovoïde ou tronconique avec une base marquée ou plate et au minimum une anse plate ou arrondie.
Pot 2-1 Récipient ovoïde avec un extremum de panse haut, une lèvre en Y sans col, parfois rentrante, et une anse arrondie ou plate. Son fond est plat ou concave. Datation : 14e - 15e s. Lieu de découverte : Montpothier in : Lenoble 2000, p. 95 Département : 10
Pot 2-2 Récipient similaire au pot 2-1 mais de plus grandes dimensions et avec deux anses plates.
Il est parfois décoré par des bandes digitées. Datation : 14e - 15e s. Lieu de découverte : Montpothier in : Lenoble 2000, p. 92 Département : 10
Pot 2-3 Récipient ovoïde avec une lèvre en inflexion externe allongée et un col cintré. La base est marquée et étroite et le fond légèrement concave. L'anse plate est rattachée sur la lèvre. Datation : (fin 15e ) - première moitié 16e s. Lieu de découverte : Troyes, Place de la Libération in : Ravoire 2011, p. 188 Département : 10
Pot 2-4 Récipient ovoïde avec une lèvre en inflexion externe de forme triangulaire avec parfois une légère gouttière interne. La base est marquée et le fond légèrement concave. L'anse plate est rattachée sur la lèvre. Datation : seconde moitié du 15e s. Lieu de découverte : Troyes, Place de la Libération in : Ravoire 2011, p. 184 Département : 10
Pot 2-5 Récipient ovoïde avec une lèvre faiblement marquée triangulaire et un léger ressaut à la jonction col/panse. Le fond est plat et l'anse plate est rattachée sur/sous la lèvre. Datation : seconde moitié 13e - première moitié 14e s. Lieu de découverte : Troyes, Les Halles in : Lenoble et al. 1987, p. 62 Département : 10
Pot 2-6 Récipient ovoïde avec un col cintré, une lèvre en inflexion externe sur laquelle est attachée une anse plate. Il a une base marquée. Datation : seconde moitié 13e - première moitié 14e s. Lieu de découverte : Troyes, place de la Libération, in : Ravoire 2011, p. 182 Département : 10
Pot 2-7 Récipient ovoïde avec une lèvre concave à gorge interne, parfois rentrante, un fond plat ou légèrement concave et deux anses plates. Datation : 14e - 15e s. Lieu de découverte : Troyes Département : 10
Pot 2-8 Récipient ovoïde avec une lèvre en inflexion externe, une base marquée et concave et une anse plate rattachée sur la panse. Datation : 16e - 17e s. Lieu de découverte : Châlons-en-Champagne in : Cabart 1985, p. 38 Département : 51
Pot 2-9 Récipient en grès ou en pâte grésée avec une lèvre en inflexion externe en légère gouttière interne, un bec pincé, une anse plate et un fond marqué. Datation : 16e - 17e s. Lieu de découverte : Troyes, in : Lenoble et al. 1987 : 93 Département : 10
Pot 3 Récipient ovoïde ou globulaire avec une anse bipartite et parfois trois pieds.
Pot 3-1 Récipient ovoïde avec un col cintré, une lèvre en inflexion externe, un fond concave et une anse bipartite. Ce pot est aussi appelé "huguenote" dans la littérature culinaire. Datation : 16e - 17e s. Lieu de découverte : Châlons-en-Champagne in : Cabart 1985, p. 55 Département : 51
Pot 3-2 Récipient globulaire avec une lèvre déjetée, un col cintré, une anse bipartite et trois pieds. Datation : 16e - 17e s. Lieu de découverte : Châlons-en-Champagne in : Cabart 1985, p. 39 Département : 51
Pot 3-3 Récipient globulaire de petite ou moyenne taille avec trois pieds et une anse poucier. Sa lèvre est en collerette avec une terminaison droite plus ou moins épaissie. Ce pot est toujours recouvert par une glaçure jaspée. Il est produit à Épernay (51). Datation : fin XVIIIe - mi XIXe s. Lieu de découverte : Bar-sur-Aube Département : 10
Pot 4 Récipient ovoïde en grès avec une lèvre triangulaire et deux anses.
Pot 4-1 Récipient ovoïde dit "pot ardennais" de taille moyenne avec une lèvre triangulaire dans le prolongement d'un léger col. Il a deux anses en panier qui se font face, un fond plat et une base marquée. La glaçure au sel est brune sur la surface externe et blanche sur la surface interne. Datation : fin 19e - début 20e siècle Lieu de découverte : Isles-sur-Suippe Département : 51
Pot 4-2 Récipient (saloir) ovoïde en grès avec une lèvre triangulaire en crochet, un fond rentrant et deux anses horizontales qui se font face. Ce saloir dont l'ouverture est resserrée provient du Beauvaisis. Datation : 2nd moitié/dernier quart du 17e s. Lieu de découverte : Nogent-sur-Seine in : Ravoire 2015 p. 57 Département : 10
Pot 5 Récipient ovoïde tripode avec au minimum une anse ou un tenon de préhension.
Pot 5-1 Récipient ovoïde avec une lèvre moulurée, un fond rentrant et une anse plate. Datation : 2nd moitié/dernier quart du 17e s. Lieu de découverte : Nogent-sur-Seine in : Ravoire 2015 p. 56 Département : 10
Pot 6 Récipient mérovingien à carène dit "vase biconique".
Pot 6-1 Récipient tripartite avec une carène médiane, une lèvre déjetée et un fond annelé concave. Datation : 6e s. Lieu de découverte : La Saulsotte in : Lenoble 2000 : p. 79 Département : 10
Pot 6-2 Récipient à carène douce avec un fond concave, une lèvre arrondie et un haut de panse cannelé. Datation : 6e s. Lieu de découverte : Pont-sur-Seine in : Mahé-Hourlier 2015 : 402 Département : 10
Pichet Ce récipient est le plus souvent de forme allongée, muni d'un col étroit et marqué, et d'une anse verticale. Sa contenance n'excède que rarement trois litres.
Pichet 1 Récipient à profil pansu de petite taille avec un col resserré et parfois un dispositif verseur pincé. Forme
proche des pichets Alzei 30 et datée du haut Moyen Âge.
Pichet 1-1 Récipient à lèvre en amande parfois droite et fond plat. Son anse est plate en ruban et rattachée sur l’extremum de la panse et sous la lèvre. Il ne possède aucun dispositif verseur. Datation : 6e - début 7e s. Lieu de découverte : La Saulsotte (atelier) Département : 10
Pichet 1-2 Récipient similaire au pichet 1-1 mais de dimensions plus réduites. Datation : 6e - début 7e s. Lieu de découverte : La Saulsotte (atelier) Département : 10
Pichet 1-3 Récipient avec une morphologie proche de celle du pichet 1-1 mais avec un col plus resserré et un dispositif verseur tréflé. Datation : 6e - début 7e s. Lieu de découverte : La Saulsotte (atelier) Département : 10
Pichet 2 Récipient élancé dont le col se confond avec la panse. Il n’a pas de système verseur.
Pichet 2-1 Récipient avec une lèvre en léger bourrelet, un extremum de panse médian, une base marquée
et concave et une anse ronde.Au niveau du col plusieurs traces de tour sont bien marquées. Datation : fin 13e - 14e s. Lieu de découverte : Bagneux in : Lenoble 2000, p. 93 Département : 10
Pichet 2-2 Petit récipient avec une lèvre évasée dans le prolongement de la panse globulaire, une anse ronde pleine et un fond concave avec des pieds réalisés par digitation. Datation : (milieu?) fin 14e - 15e s. Lieu de découverte : Troyes in : Ravoire 2011, vol. 2, p. 177 Département : 10
Pichet 2-3 Récipient avec une lèvre en inflexion externe et avec une légère gouttière interne, un col droit, un extremum de panse médian et globulaire, une base marquée et concave et une anse ovale à deux replis bien marqués. Datation : 13e siècle Lieu de découverte : Troyes, site des Halles, in : Lenoble 1987, p. 55 Département : 10
Pichet 2-4 Récipient ventru avec une lèvre en bourrelet dans le prolongement d'un col évasé avec de nombreuses traces de tour. Son anse est plate à repli rattachée sur le col et sa base est marquée. Datation : 13e s. Lieu de découverte : Troyes, Les Halles, in : Lenoble et al. 1987, p. 44 Département : 10
Pichet 2-5 Petit récipient élancé avec une lèvre en inflexion externe à terminaison arrondie. Le col est légèrement souligné, le fond marqué est concave et l'anse ronde est pleine. Datation : 14e - 15e s. Lieu de découverte : Châlons-en-Champagne Département : 51
Pichet 2-6 Récipient élancé avec une lèvre en inflexion externe, un col cannelé, une anse plate à repli et trois petits pieds. Datation : mi 13e - 14e s. Lieu de découverte : Châlons-en-Champagne Département : 51
Pichet 3 Récipient de forme balustre sans système verseur.
Pichet 3-1 Récipient à lèvre en Y rentrante avec une liaison bien marquée au niveau du col. Sa base est
légèrement concave et son anse en ruban. Datation : fin 13e - 14e s. Lieu de découverte : Montpothier in : Lenoble 2000, p. 93 Département : 10
Cruche Elle se distingue du pichet par une panse large, le plus souvent globulaire, une embouchure étroite, un col le plus souvent peu développé, une à trois anses verticales, parfois une anse en panier et un bec tubulaire ou ponté. Sa contenance est en général plus importante que celle du pichet, sauf pour les formes ostentatoires très décorées.
Cruche 1 Récipient globulaire avec un bec tubulaire, une lèvre à inflexion externe et un fond plat ou annelé.
Cruche 1-1 Récipient à lèvre déjetée à fond plat et à bec tubulaire tréflé. Il a probablement au
moins une anse. Datation : 8e - début 10e siècle Lieu de découverte : Fontvannes in : Lenoble 2000, p. 83 Département : 10
Cruche 1-2 Récipient à lèvre déjetée carrée à fond annelé avec un petit bec tubulaire et deux anses
plates attachées sur la lèvre. Datation : 10e - début 12e siècle Lieu de découverte : Montpothier in : Georges-Leroy, Lenoble 1993, p. 260 Département : 10
Cruche 1-3 Récipient à lèvre en bourrelet carré dans le prolongement d'un léger col avec un fond lenticulaire, un bec tubulaire court tangent et deux anses plates. Quelques récipients ont un fond plat. Datation : fin 11e - première moitié 12e s. Lieu de découverte : Marcilly-sur-Seine Département : 51
Cruche 1-4 Récipient globulaire à fond plat avec une lèvre déjetée, un bec tubulaire court tangent à la lèvre et deux anses plates. Datation : fin 11e - première moitié 12e s. Lieu de découverte : Marcilly-sur-Seine Département : 51
Cruche 1-5 Récipient globulaire avec une lèvre triangulaire avec un parement externe concave et une terminaison sommitale arrondie. Le bec tubulaire est massif et rattaché sur la lèvre. Datation : seconde moitié du 7e - première moitié du 8e s. Lieu de découverte : Dizy Département : 51
Cruche 1-6 Récipient incomplet de forme globulaire avec une lèvre rentrante et un bec tubulaire tréflé. Datation : mi/fin 8e - 9e siècle Lieu de découverte : Esclavolles-Lurey Département : 51
Cruche 1-7 Récipient incomplet de forme proche du pot 1-5 : globulaire avec une lèvre étirée et un bec tubulaire. Datation : 9e siècle Lieu de découverte : Reims Département : 51
Cruche 2 Récipient ovoïde avec un bec tubulaire, une lèvre à inflexion externe et un fond plat ou concave.
Cruche 2-1 Récipient avec une lèvre déjetée, un fond concave, une anse plate et un court bec tubulaire. Datation : 8e - début 10e siècle Lieu de découverte : Moussey in : Lenoble 2000, p. 83 Département : 10
Cruche 2-2 Récipient avec une lèvre triangulaire à parement vertical, avec une base marquée et concave,
deux anses plates rattachées sur la lèvre et un bec tubulaire. Cette cruche est très souvent décorée de flammules peintes. Datation : 12e - fin 13e siècle Lieu de découverte : Nogent-sur-Seine in : Lenoble 2000, p. 90 Département : 10
Cruche 2-3 Récipient ovoïde avec une lèvre droite en flèche avec une gorge interne, deux anses plates, un fond rentrant et un bec tubulaire court. Datation : 14e - 15e s. Lieu de découverte : Moussey Département : 10
Cruche 2-4 Récipient ovoïde avec une lèvre en inflexion externe triangulaire, deux anses plates et un bec tubulaire court. Datation : 14e - 15e s. Lieu de découverte : Moussey Département : 10
Cruche 3 Récipient ovoïde avec un long bec tubulaire rattaché sur l'épaule et une lèvre presque droite ou en légère inflexion vers l'intérieur.
Cruche 3-1 Grand récipient avec une lèvre droite en Y avec des stries de tournage bien marquées, une base
marquée, une anse plate ou ovoïde et un long bec tubulaire attaché sur le haut de la panse. Datation : fin 13e - fin 14e siècle (15e siècle?) Lieu de découverte : Montpothier in : Lenoble 2000, p. 94 Département : 10
Cruche 4 Récipient ovoïde ou globulaire avec un col plus ou moins long et un verseur fait par déformation de la lèvre.
Cruche 4-1 Récipient ovoïde à panse cannelée avec une lèvre évasée en gouttière et un bec pincé. Son fond est plat et son anse plate à repli. Datation : 13e - 14e s. Lieu de découverte : Troyes, Les Halles : in Lenoble et al. 1987, p.51 Département : 10
Cruche 4-2 Récipient ovoïde avec une lèvre triangulaire et légèrement évasée. Le col est cannelé et le fond lenticulaire. Cette cruche est probablement équipée d'un bec pincé et d'une anse plate. Datation : 11e s. Lieu de découverte : Dizy Département : 51
Cruche 4-3 Récipient globulaire avec un verseur fait par déformation de la lèvre en hache. cette cruche a un fond lenticulaire, une anse plate rattachée sur la lèvre et une jonction entre le col et la panse bien marquée. Datation : 11e s. Lieu de découverte : Dizy Département : 51
Cruche 5 Récipient globulaire ou ovoïde sans col avec un bec fait par déformation de la lèvre.
Cruche 5-1 Récipient globulaire avec deux anses plates et un verseur fait par déformation de la lèvre épaisse en inflexion externe. Datation : 6e - 7e siècle Lieu de découverte : Buchères Département : 10
Cruche 5-2 Récipient globulaire avec un bec verseur fait par déformation de la lèvre triangulaire qui a une légère gorge interne. Est équipé de deux anses plates. Datation : 11e s. Lieu de découverte : Dizy Département : 51
Cruche 5-3 Récipient incomplet de forme globulaire avec panse cannelée, lèvre en crochet épaissie et bec pincé. Datation : mi/fin 9e - 10e siècle Lieu de découverte : Saint-Memmie Département : 51
Marmite Grand récipient culinaire, parfois de forme plus ouverte qu'un pot, avec en général un système de préhension (trous et "oreilles" ou anses) et quelquefois des pieds.
Marmite 1 Récipient globulaire à fond bombé et sans anse.
Marmite 1-1 Récipient globulaire avec un fond bombé et une lèvre déjetée carrée dans le prolongement d'un léger col. Datation : 6e s. Lieu de découverte : La Saulsotte in : Georges-Leroy, Lenoble 1993, p. 251 Département : 10
Marmite 2 Récipient globulaire ou ovoïde à fond plat ou bombé et avec parfois des trous de suspension ou des anses.
Marmite 2-1 Récipient globulaire avec un fond plat et une lèvre ronde en légère inflexion externe. Le haut de la panse est percé de trous de suspension. Datation : 7e s. Lieu de découverte : La Saulsotte in : Lenoble 2000, p. 80 Département : 10
Marmite 2-2 Récipient globulaire avec un fond plat ou légèrement lenticulaire avec une lèvre déjetée en faucille. Deux "oreilles" ont été aménagées par étirement de la lèvre pour le perçage de trous de suspension. Datation : 6e s. Lieu de découverte : La Saulsotte in : Lenoble 2000, p. 80 Département : 10
Marmite 2-3 Récipient tronconique avec une lèvre en crochet ou en bourrelet arrondi et un fond rentrant assez resserré. Datation : 6e s. Lieu de découverte : Buchères Département : 10
Marmite 2-4 Récipient globulaire avec une lèvre triangulaire ou en crochet avec un parement externe concave et une terminaison sommitale arrondie. Les deux trous de suspension sont percés au niveau du col et la lèvre est rabattue en croissant à leur contact. Le fond est rentrant. Il s'agit du pendant du pot 1-3. Datation : seconde moitié du 7e - première moitié du 8e s. Lieu de découverte : Dizy Département : 51
Marmite 2-5 Récipient globulaire ou plus tronconique avec une lèvre déjetée plus ou moins massive et sans col et un fond lenticulaire. Les trous de suspension sont percés sous deux replis au pouce de la lèvre. Datation : courant du 8e siècle Lieu de découverte : Warmeriville, in : Mahé-Hourlier 2016 : 574 Département : 51
Marmite 2-6 Récipient globulaire avec une lèvre déjetée en gouttière dans le prolongement d'un col plus ou moins long. Deux "oreilles" ont été aménagées par étirement de la lèvre pour le perçage de trous de suspension. Quelques exemplaires sont décorés de motifs incisés. Datation : 9e - 10e siècles Lieu de découverte : Warmeriville, in : Mahé-Hourlier 2016 : 578 Département : 51
Marmite 2-7 Récipient globulaire bas, de petite taille, avec une lèvre déjetée en gouttière, un fond lenticulaire et deux anses plates. Datation : 10e s. Lieu de découverte : Castrum de Montfélix Epernay Département : 51
Marmite 3 Récipient ovoïde ou tronconique à fond plat ou marqué et avec au moins une anse.
Marmite 3-1 Récipient ovoïde avec une lèvre arrondie et rentrante, une petite carène juste après le col et un fond concave avec une base marquée. Il a une anse ovale rattachée sur la lèvre. Datation : 15e s. Lieu de découverte : Montpothier in : Lenoble 2000, p. 91 Département : 10
Marmite 4 Récipient globulaire avec trois pieds (tripode) et deux anses plates, rondes ou coudées qui se font face.
Marmite 4-1 Récipient globulaire avec une lèvre en inflexion externe à terminaison triangulaire, deux anses plates et un fond lenticulaire avec trois pieds. Datation : 15e s. Lieu de découverte : Troyes in : Deborde 2011, fig. 5 Département : 10
Marmite 4-2 Récipient globulaire avec une lèvre en gouttière, deux anses rondes et trois pieds. Datation : 15e - 16e s. Lieu de découverte : Châlons-en-Champagne in : Cabart 1985, p. 45 Département : 51
Marmite 4-3 Récipient globulaire avec une lèvre en inflexion externe légèrement concave à terminaison arrondie, deux anses coudées et trois pieds. Datation : 16e s. Lieu de découverte : Châlons-en-Champagne in : Cabart 1985, p. 39 Département : 51
Marmite 4-4 Récipient globulaire de petite taille avec une lèvre déjetée plus ou moins triangulaire, deux anses plates et trois pieds plus ou moins développés. Certains exemplaires ont des pieds festonnés. Datation : mi 14e - 15e s. Lieu de découverte : Châlons-en-Champagne Département : 51
Flacon Récipient cylindrique ou rectangulaire dont le sommet se termine par un goulot.
Flacon 1 récipient en porcelaine de forme rectangulaire avec des coins en biseau. Il a une lèvre droite, un petit bec pincé et un fond plat. Datation : fin 19e - début 20e siècle Lieu de découverte : Isles-sur-Suippe Département : 51
Gobelet Récipient de petite taille avec une épaisseur de paroi fine, sans élément de préhension ou verseur et avec une lèvre le plus souvent droite et en biseau.
Gobelet 1 Récipient à carène du haut Moyen Âge. Il est aussi appelé "gobelet biconique".
Gobelet 1-1 Récipient tripartite haut de forme presque cylindrique avec un pied annulaire et une lèvre légèrement évasée en terminaison arrondie. Datation : mi/fin 7e s. Lieu de découverte : Pont-sur-Seine in : Mahé-Hourlier 2015 : 398 Département : 10
Gobelet 1-2 Récipient assez étroit à carène avec une lèvre déjetée arrondie, une base plate et un fond bombé. Il peut être décoré à la molette. Datation : 6e - 7e s. Lieu de découverte : St-Memmie Département : 51
Gobelet 1-3 Récipient tripartite avec une carène basse, une lèvre arrondie en légère inflexion externe et un fond annelé. Datation : 6e - 7e siècle Lieu de découverte : Buchères Département : 10
Gobelet 2 Récipient cylindrique en faïence fine ou en porcelaine.
Gobelet 2-1 Récipient cylindrique légèrement évasé avec une lèvre arrondie et un fond concave. Datation : fin 19e - début 20e siècle Lieu de découverte : Isles-sur-Suippe Département : 51
Gobelet 3 récipient tronconique avec une lèvre peu marquée.
Gobelet 3-1 Récipient tronconique avec une lèvre dans le prolongement de la panse et une base marquée et concave. Datation : (seconde moitié?) 14e - 15e s. Lieu de découverte : Montpothier in : Lenoble 2000, p. 91 Département : 10
Pot à moutarde Récipient cylindrique destiné à la conservation de la moutarde.
Pot à moutarde 1 Récipient cylindrique en grès rhénan de petite taille avec une lèvre triangulaire et un fond plat. Le couvercle est probablement réalisé dans un matériau périssable comme du liège. Datation : fin 19e - début 20e siècle Lieu de découverte : Isles-sur-Suippe Département : 51
Pot à tabac Récipient cylindrique en faïence destiné à la conservation du tabac.
Pot à tabac 1 Récipient cylindrique en faïence fine avec une lèvre horizontale carrée et un fond à anneau. Le couvercle tronconique est manquant sur cet exemplaire. Datation : fin 19e - début 20e siècle Lieu de découverte : Isles-sur-Suippe Département : 51
Pot à tabac 2 Récipient cylindrique en faïence fine de petite taille avec une lèvre rentrante un un épaulement. Son fond est légèrement concave. Il est décoré par des motifs moulés en "bas-relief". Le couvercle est manquant sur cet exemplaire. Datation : fin 19e - début 20e siècle Lieu de découverte : Isles-sur-Suippe Département : 51
Broc de toilette Récipient en faïence ou en porcelaine de forme variable, parfois semblable à une cruche ou un pichet et destiné à la toilette quotidienne.
Broc de toilette 1 Récipient bas et très ventru en faïence fine avec une lèvre déjetée arrondie, un grand bec étiré, une anse ovale et un fond à anneau. Datation : fin 19e - début 20e siècle Lieu de découverte : Isles-sur-Suippe Département : 51
Toulon Récipient de type bouteille ventrue avec un goulot étroit et évasé, un bec pincé et une ou deux anses.
Toulon 1 Récipient à huile en bouteille ventrue, ou bonbonne, avec un goulot étroit équipé d'une gouttière interne, d'un bec pincé et d'une anse plate cannelée. Datation : 16e - 17e s. Lieu de découverte : Moussey Département : 10
Verseuse Récipient dont la forme générale se rapproche de celle des pots ansés mais avec un verseur tubulaire. Peut être appelé pot-verseur ou pot à infusions/tisanes.
Verseuse 1 Récipient avec une lèvre en hache, une panse globulaire haute, une base très resserrée, une anse plate et un verseur tubulaire. Le verseur est percé de trous de filtration. Datation : mi 14e - 15e s. Lieu de découverte : Châlons-en-Champagne Département : 51
Formes ouvertes Le récipient est de forme ouverte lorsque le diamètre d'embouchure est supérieur à la hauteur générale du vase.
Assiette Récipient dont le diamètre d'ouverture est supérieur à 5 fois la hauteur : sa forme générale est donc très évasée. Un large marli et une base légèrement marquée caractérisent ce récipient.
Assiette 1 Assiette en faïence fine avec un bassin moyen, un marli long légèrement incurvé et un fond à anneau. Datation : seconde moitié 19e - début 20e s. Lieu de découverte : Isles-sur-Suippe Département : 51
Assiette 2 Assiette en porcelaine avec un bassin peu profond, un long marli et un fond rentrant bien marqué. Datation : fin 19e - début 20e siècle Lieu de découverte : Isles-sur-Suippe Département : 51
Assiette 3 Assiette creuse en porcelaine à bassin profond, marli moyen et fond rentrant bien marqué. Datation : fin 19e - début 20e siècle Lieu de découverte : Isles-sur-Suippe Département : 51
Assiette 4 Petite assiette porte-tasse en porcelaine avec un long marli évasé et un fond rentrant bien marqué. Datation : fin 19e - début 20e siècle Lieu de découverte : Isles-sur-Suippe Département : 51
Assiette 5 Assiette en faïence avec un bassin moyen, un marli incurvé vers l'intérieur et un fond concave. Datation : seconde moitié 18e - début 19e s. Lieu de découverte : Isles-sur-Suippe Département : 51
Assiette 6 Petite assiette en faïence fine avec un très léger bassin, un marli long et incurvé et un fond à anneau. Datation : fin 19e - début 20e siècle Lieu de découverte : Isles-sur-Suippe Département : 51
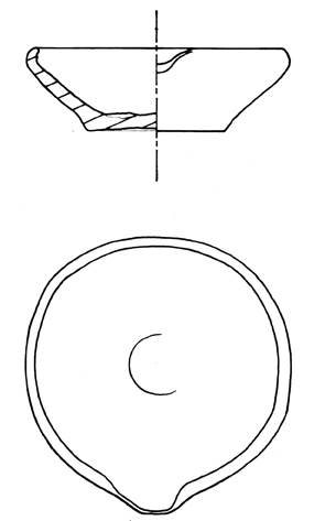
Plat/Jatte Récipient, dont la forme générale est très évasée, avec ou sans anses, à corps tronconique ou légèrement cintré. Le diamètre d'ouverture est généralement compris entre 2,5 et 5 fois la hauteur générale. Pour plus de simplicité, on utilise ici le terme de plat et non de jatte pour tous les récipients.
Plat 1 Récipient tronconique avec au moins une anse.
Plat 1-1 Récipient tronconique avec une lèvre horizontale longue et arrondie, une base marquée et un fond concave. Il a deux anses plates rattachées sur la lèvre et un verseur fait par déformation. Datation : 14e - 15e s. Lieu de découverte : Montpothier in : Lenoble 2000, p. 81 Département : 10
Plat 2 Récipient tronconique sans anse.
Plat 2-1 Récipient tronconique avec un long marli recourbé vers l'intérieur et un fond légèrement concave. Datation : 16e s. Lieu de découverte : Châlons-en-Champagne in : Cabart 1985, p. 54 Département : 51
Plat 2-2 Récipient tronconique avec un épais rebord carré mouluré, une base marquée et un fond plat. Datation : 16e - 17e s. Lieu de découverte : Châlons-en-Champagne in : Cabart 1985, p. 54 Département : 51
Soupière Grand récipient avec un pied destiné à la présentation des mets liquides, comme de la soupe.
Soupière 1 Grand récipient tronconique en faïence fine avec une lèvre ronde en légère inflexion externe et un large pied rapporté sur le fond. Il a deux anses en panier décorées par des motifs géométriques ou zoologiques. Datation : fin 19e - début 20e siècle Lieu de découverte : Isles-sur-Suippe Département : 51
Poêlon Récipient dont la forme générale et le rapport entre le diamètre de l'ouverture et la hauteur du vase sont proches du plat. Il possède un manche creux.
Poêlon 1 Récipient tronconique avec une lèvre longue déjetée, une base marquée et plate et un tenon de préhension creux à terminaison en bourrelet. Datation : 14e - 15e s. Lieu de découverte : Montpothier in : Lenoble 2000, p. 91 Département : 10
Poêlon 2 Récipient hémisphérique avec une lèvre arrondie dans le prolongement de la panse, une base plate et un tenon de préhension ovale et creux. Datation : 19e siècle Lieu de découverte : Langres Département : 52
Poêlon 3 Récipient tronconique avec une lèvre en bourrelet ou de forme triangulaire, une base marquée et un manche évasé creux. Datation : 14e - 15e s. Lieu de découverte : Châlons-en-Champagne Département : 51
Coupe/Bol Récipient le plus souvent de petite taille et généralement muni d'une base marquée ; son ouverture est proche de deux fois sa hauteur totale. Pour plus de simplicité, on utilise ici le terme de coupe et non de bol pour tous les récipients.
Coupe 1 (Bol caréné 1)Récipient avec une carène plus ou moins marquée.
Coupe 1-1 (Bol caréné 1)Récipient profond avec une carène haute, une lèvre arrondie ou en bourrelet et une base marquée parfois légèrement concave. Cette coupe peut être décorée à la molette. Datation : 6e - 7e s. Lieu de découverte : La Saulsotte in : Lenoble 2000, p; 79 Département : 10
Coupe 1-2 Récipient presque hémisphérique avec une épaule moulurée, une lèvre arrondie et une base annelée. Datation : fin 5e - début 6e s. Lieu de découverte : Matignicourt Département : 51
Coupe 1-3 Récipient très légèrement caréné avec une lèvre épaisse et en terminaison arrondie et un fond concave. Datation : 6e s. Lieu de découverte : Buchères Département : 10
Coupe 1-4 Récipient de forme haute avec une très légère carène et une lèvre rentrante plus ou moins marquée. Datation : fin 5e - début 6e s. Lieu de découverte : Buchères Département : 10
Coupe 2 Petite coupe à carène en grès du Beauvaisis
Coupe 2-1 Petit récipient à carène avec une lèvre et une panse arrondies et une base marquée légèrement concave. Datation : 15e s. Lieu de découverte : Châlons-en-Champagne in : Cabart 1985, p. 47 Département : 51
Coupe 2-2 Petit récipient à carène avec une lèvre arrondie légèrement rentrante et une base annulaire. Datation : 15e - 16e s. Lieu de découverte : Châlons-en-Champagne in : Cabart 1985, p. 47 Département : 51
Coupe 3 Récipient hémisphérique avec des tenons ou oreilles de préhension.
Coupe 3-1 Récipient hémisphérique à lèvre en bourrelet, à fond concave et avec deux tenons de préhension digités. Datation : 17e - 18e s. Lieu de découverte : Troyes in : Lenoble et al. 1987, p. 92 Département : 10
Coupe 4 Récipient hémisphérique sans système de préhension
Coupe 4-1 Récipient hémisphérique avec une lèvre presque horizontale à terminaison arrondie et épaissie. Datation : 18e - 19e s. Lieu de découverte : Moussey Département : 10
Coupe 4-2 Récipient hémisphérique avec une lèvre droite à terminaison arrondie et une légère collerette. Son fond est légèrement rentrant et sa base marquée. Datation : 16e - 17e s. Lieu de découverte : Moussey Département : 10
Coupe 5 Récipient à double carène
Coupe 5-1 Récipient à double carène, parfois appelé "pot à bandeau caréné burgonde" dans la littérature régionale.Sa lèvre est plus ou moins rentrante et en crosse et son fond annelé. Datation : 6e s. Lieu de découverte : Buchères
Tasse Récipient de petite taille muni d'une ou deux anses.
Tasse 1 Récipient hémisphérique avec une base marquée et une anse.
Tasse 1-1 récipient hémisphérique avec une lèvre pointue et arrondie et une base très marquée parfois légèrement concave. Il a une anse ovale rattaché sur l'épaule. Datation : 14e - 15e s. Lieu de découverte : Montpothier in : Lenoble 2000, p. 91 Département : 10
Tasse 2 Récipient cylindrique en porcelaine avec une anse.
Tasse 2-1 Récipient cylindrique avec une lèvre droite, un fond rentrant très anguleux et une anse pleine rattachée sous la lèvre. Datation : fin 19e - début 20e siècle Lieu de découverte : Isles-sur-Suippe Département : 51
Tasse 3 Récipient tronconique avec une lèvre évasée et une anse.
Tasse 3-1 Récipient tronconique en faïence fine avec une lèvre fine dans le prolongement de la panse avec un fond concave et une anse carrée. Datation : fin 19e - début 20e siècle Lieu de découverte : Isles-sur-Suippe Département : 51
Tasse 3-2 Récipient tronconique avec une base concave, trois pieds digités et une anse ronde. Datation : mi 14e - mi 15e s. Lieu de découverte : Troyes Département : 10
Tasse 3-3 Récipient tronconique avec une base marquée et deux anses rondes qui se font face. Datation : 15e s. Lieu de découverte : Châlons-en-Champagne in : Cabart 1985, p. 46 Département : 51
Tasse 3-4 Récipient tronconique avec une lèvre à terminaison arrondie légèrement soulignée et une anse ronde. Quelques exemplaires ont une base marquée, d'autres sont en grès. Datation : 14e - 17e s. Lieu de découverte : Moussey Département : 10
Chope Récipient cylindrique assez haut avec une anse.
Chope 1 Récipient cylindrique en grès rhénan avec une lèvre épaissie et rentrante et un fond légèrement concave. L'anse est ovale et rattachée sous la lèvre. Datation : fin 19e - début 20e siècle Lieu de découverte : Isles-sur-Suippe Département : 51
Mortier Récipient assez semblable aux plats mais plus haut et utilisé pour les préparations culinaires.
Mortier 1 Récipient hémisphérique avec une base peu marquée une collerette haute et une lèvre droite à terminaison arrondie ou effilée et rentrante. Un verseur canal plus ou moins marqué a été aménagé le long de la lèvre. La surface interne est chargée en inclusions abrasives moyennes à grosses. Datation : mi 5e - mi 6e siècle Lieu de découverte : Buchères Département : 10
Mortier 2 Récipient tronconique avec une lèvre droite ou légèrement rentrante à terminaison arrondie, une petite collerette sommitale et un verseur de type pincé . Datation : 7e - 9e siècles Lieu de découverte : Dizy Département : 51
Mortier 3 Récipient hémisphérique avec une lèvre en bourrelet, un fond épais et plat et une anse plate rattachée sur la lèvre. Un petit picot est présent sur l'ouverture. Datation : 8e - début 10e siècle Lieu de découverte : Verrières; in : Georges-Leroy, Lenoble 1993, p. 258 Département : 10
Mortier 4 Récipient hémisphérique avec une lèvre rentrante et un fond concave. La surface interne est chargée en inclusions abrasives moyennes à grosses. Datation : 6e siècle Lieu de découverte : Warmeriville, in : Mahé-Hourlier 2016 : 571 Département : 51
Porte peigne Récipient assez long et avec un bassin peu profond destiné à recevoir un peigne ou une brosse.
Porte peigne 1 Récipient en faïence fine rectangulaire assez évasé avec une lèvre en terminaison arrondie et un bassin peu profond. Son fond est rentrant et deux bosselages sont situés à l'intérieur du récipient. Datation : fin 19e - début 20e siècle Lieu de découverte : Isles-sur-Suippe Département : 51
Porte savon Récipient avec un bassin peu profond destiné à recevoir un savon.
Porte savon 1 Récipient en faïence fine rectangulaire assez évasé avec une lèvre en terminaison arrondie et un bassin peu profond. Son fond est rentrant et deux bosselages sont situés à l'intérieur du récipient. Datation : fin 19e - début 20e siècle Lieu de découverte : Isles-sur-Suippe Département : 51
Couvre feu Récipient de très grande taille destiné à couvrir le feu.
Couvre feu 1 Récipient circulaire et tronconique avec une poignée horizontale plate et des trous d'aération dans la partie supérieure. Datation : 15e s. Lieu de découverte : Châlons-en-Champagne in : Cabart 1985, p. 44 Département : 51
Lèchefrite Récipient destiné à recueillir le jus de cuisson.
Lèchefrite 1 Récipient ovale de forme allongée avec une lèvre arrondie à ressaut interne, deux manches de préhension pleins et deux pieds pleins. Une glaçure recouvre la surface interne. Datation : 16e - 17e s. Lieu de découverte : Châlons-en-Champagne in : Cabart 1985, p. 59 Département : 51
Tèle Grand récipient tronconique, parfois nommé terrine percée, crémière ou laitière, destiné au travail des produits laitiers.
Tèle 1 Récipient tronconique avec un large verseur fait par déformation de la lèvre en bandeau marqué. Datation : 17e - 18e s. Lieu de découverte : Moussey Département : 10
Tèle 2 Récipient tronconique avec un large verseur fait par déformation de la lèvre en bandeau épais. Le parement du bandeau peut être quasiment droit sur certaines tèles. Datation : 18e - 19e s. Lieu de découverte : Bar-sur-Aube Département : 10
Autres formes Il s'agit de toutes les autres formes en terre cuite appartenant au vaisselier et plus généralement au mobilier domestique.
Couvercle Ustensile venant couvrir un autre récipient (pot, marmite...) dans le but de maintenir au chaud son contenu lors de la cuisson ou du service.
Couvercle 1 Couvercle hémisphérique avec une lèvre arrondie rentrante et une légère collerette. Le récipient est fragmenté et son système de préhension n'a pu être observé. Datation : 6e - début 7e s. Lieu de découverte : La Saulsotte in : Lenoble 2000, p. 80 Département : 10
Couvercle 2 Petit récipient conique avec une lèvre droite et arrondie, une collerette moyenne incurvée vers le haut et un bouton sommital de préhension. Datation : 19e - début 20e s. Lieu de découverte : Isles-sur-Suippe Département : 51
Couvercle 3 Couvercle de forme biconique avec une collerette moyenne et un tenon de préhension légèrement marqué. Datation : 15e - début 16e s. Lieu de découverte : Ruvigny Département : 10
Lampe Objet destiné à l'éclairage.
Lampe 1 Lampe à pied à corps plein avec une coupelle intermédiaire et un réservoir hémisphérique avec un petit bec pincé. Datation : 10e - 11e s. Lieu de découverte : Saint-Pouange Département : 10
Lampe 2 Lampe à appendice plein avec un réservoir évasé et un petit bec pincé. Datation : 12e - 13e s. Lieu de découverte : Troyes, site des Halles, in : Lenoble 1987, p. 42 Département : 10
Lampe 3 Petite lampe avec un réservoir à bec pincé et une coupelle formant le pied. Le corps est creux. Datation : 13e -14e s. Lieu de découverte : Troyes in : Lenoble et al. 1987, p. 54 Département : 10
Lampe 4 Lampe à pied à corps creux avec coupelle intermédiaire et réservoir sommital avec petit bec pincé. Datation : 14e - 15e s. Lieu de découverte : Troyes, in : Deborde 2011, p. 59 Département : 10
Lampe à poulie Objet destiné à l'éclairage électrique et étant amovible grâce à une poulie.
Lampe à poulie 1 Lampe fragmentaire en porcelaine avec une base ronde percée de trous de vis et avec une poulie en porcelaine retenue par des attaches métalliques. Datation : fin 19e - début 20e siècle Lieu de découverte : Isles-sur-Suippe Département : 51
Interrupteur Objet destiné à allumer et éteindre les installations électriques.
Interrupteur 1 Interrupteur tournant en porcelaine en deux parties amovibles. La partie interne qui porte l'interrupteur est ronde et la partie externe en cloche. Datation : fin 19e - début 20e siècle Lieu de découverte : Isles-sur-Suippe Département : 51
Interrupteur 2 Interrupteur en porcelaine qui tourne avec une base bien marquée et percée sur laquelle il est possible de visser un dispositif annexe. Datation : fin 19e - début 20e siècle Lieu de découverte : Isles-sur-Suippe Département : 51
Isolateur Dispositif électrique.
Isolateur 1 Isolateur en porcelaine en forme de poids percé en son milieu et avec l’inscription "24" au dos. Datation : fin 19e - début 20e siècle Lieu de découverte : Isles-sur-Suippe Département : 51
Isolateur 2 Isolateur en porcelaine en forme de poulie avec un centre évidé. Datation : fin 19e - début 20e siècle Lieu de découverte : Isles-sur-Suippe Département : 51
Pipe Ustensile destiné à la consommation de tabac.
Pipe 1 Pipe démontable en porcelaine dont il ne subsiste que le foyer. Le tuyau en matériau périssable et le porte foyer en porcelaine sont ici manquants. Datation : fin 19e - début 20e siècle Lieu de découverte : Isles-sur-Suippe Département : 51
Tirelire Petit récipient destiné à contenir de l'argent.
Tirelire 1 Petit récipient ovoïde avec un tenon de préhension, une base marquée et concave et une fente pour glisser des pièces à l'intérieur. Datation : 15e s. Lieu de découverte : Châlons-en-Champagne in : Cabart 1985, p. 45 Département : 51
Gourde Récipient servant à conserver la boisson au cours d'un déplacement.
Gourde 1 Récipient bombé avec un fond rentrant, trois petites anses verticales sur le milieu de la panse, à l'endroit de la rupture d'orientation et avec un goulot verseur horizontal. Cette gourde est aussi appelée "gourde crapaud". Datation : 16e s. Lieu de découverte : Troyes in : Lenoble et al. 1987, p. 89 Département : 10
Gourde 2 Récipient en grès de forme allongée avec une base marquée et rentrante, deux anses verticales sur l'épaulement et deux autres horizontales dans le tiers inférieur. Avec un goulot évasé sommital, cette gourde est aussi appelée "gourde verticale". Datation : 17e s. Lieu de découverte : Rosières-près-Troyes Département : 10