Formes fermées | Le récipient est de forme fermée lorsque le diamètre de l'embouchure est inférieur ou égal à la hauteur générale du vase. |
Pot | Vase sans adjonction d’un quelconque élément de préhension, de pied, ou d’élément verseur et dont le diamètre d’ouverture est proche du diamètre maximum de la panse. |
Pot 1 | Pot globulaire possédant une lèvre en bandeau, un col court et droit et un fond plat. |
Pot 1-1 | Pot globulaire possédant une lèvre en bandeau, un col court et droit et un fond plat. Datation : Xe s. Lieu de découverte : Mondeville Delle Saint Martin (14) |  |
Pot 2 | Pot ovoïde possédant une lèvre en bandeau, un col court et droit et un fond plat. |
Pot 2-1 | Pot ovoïde possédant une lèvre en bandeau, un col court et droit et un fond plat. Datation : Xe s. Lieu de découverte : Mondeville Delle Saint Martin (14) |  |
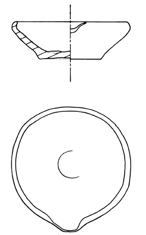
Pot 3 | Pot ovoïde possédant une lèvre éversée, un col court rentrant, et un fond rentrant. |
Pot 3-1 | Pot ovoïde possédant une lèvre éversée, un col court rentrant, et un fond rentrant. Datation : Xe s. Lieu de découverte : Bayeux Rue de Verdun (14) |  |
Pot 4 | Pot ovoïde possédant une lèvre éversée, un col court rentrant, et un fond plat. L'extremum de la panse est dans le tiers supérieur. |
Pot 4-1 | Pot ovoïde possédant une lèvre éversée, un col court rentrant, et un fond plat. L'extremum de la panse est dans le tiers supérieur. Datation : Xe s. Lieu de découverte : Bayeux Rue de Verdun (14) |  |
Pot 5 | Pot globulaire possédant une lèvre éversée, sans col et un fond rentrant. |
Pot 5-1 | La lèvre éversée est inclinée à 45° et son extrémité est arrondie. Datation : Xe s. Lieu de découverte : Subles, Grand-Jardin, (14) |  |
Pot 5-2 | Pot globulaire possédant une lèvre éversée, sans col et un fond rentrant. Datation : XIe-XIIe s. Lieu de découverte : La Roche-Mabile, La Grande-Ouche, (61) |  |
Pot 6 | Pot globulaire à col évasé, possédant une lèvre droite et un fond plat. |
Pot 6-1 | Pot globulaire à col évasé, possédant une lèvre droite et un fond plat. Datation : Xe s. Lieu de découverte : Vieux, Les Gaudines, (14) |  |
Pot 7 | Pot globulaire à col haut rentrant, possédant une lèvre éversée et un fond plat. |
Pot 7-1 | Pot globulaire à col haut rentrant, possédant une lèvre éversée et un fond plat. Datation : Xe s. Lieu de découverte : Grentheville, La Sente, (14) |  |
Pot 8 | Pot globulaire à lèvre éversée sans col. Le fond est plat. |
Pot 8-1 | Pot globulaire à lèvre éversée rectangulaire courte et épaisse formant un
angle inférieure à 90°. Le col est absent et le fond est plat. Datation : 950-1000 Lieu de découverte : Bayeux, Rue de Verdun, (14) |  |
Pot 8-2 | Pot globulaire avec une lèvre éversée à 45° avec la face externe plate, et la face supérieure biseauté et possédant une gouttière. L’extremum de la panse se situe au milieu. Datation : XIe-XIIe s. Lieu de découverte : Caen, cloître Saint-Étienne, (14) |  |
Pot 8-3 | Pot globulaire avec une lèvre éversée rectangulaire entre 45 et 90°. L’extremum de la panse se situe au milieu Datation : XIe-XIIe s. Lieu de découverte : Lisieux, Hôpital, (14) |  |
Pot 9 | Pot globulaire à lèvre éversée possédant un fond convexe. |
Pot 9-1 | Pot globulaire avec une lèvre éversée à 45° avec la face externe plate. L’extremum de la panse se situe au milieu. Datation : XIe-XIIe s. Lieu de découverte : La Pommeraye, Château Ganne, (14) |  |
Pot 9-2 | Pot globulaire avec une lèvre éversée à 90° avec face externe plate et face supérieure biseauté. L’extremum de la panse se situe au milieu. Datation : XIe-XIe s. Lieu de découverte : Le Molay-Littry, Saint-Éloy, (14) |  |
Pot 9-3 | Pot globulaire à lèvre éversée rectangulaire à 90°, l’extremum de la panse se situe dans le tiers supérieur. Datation : XIe-XIIe s. Lieu de découverte : Lieusaint, Ferme de la Fosse, (50) |  |
Pot 10 | Pot globulaire à lèvre en bandeau et à fond plat. |
Pot 10-1 | Pot globulaire avec une lèvre en bandeau possédant une face externe légèrement concave, une partie supérieure droite avec une gouttière, et un apex marqué. L’extremum de la panse se situe au milieu. Datation : XIe-XIIe s. Lieu de découverte : Le Molay-Littry, Saint-Éloy, (14) |  |
Pot 10-2 | Pot globulaire avec une lèvre en bandeau possédant une face externe plate, la partie supérieure légèrement éversée, et un apex peu marqué. La face interne est concave. L’extremum de la panse se situe au tiers supérieur. Lieu de découverte : Le Molay-Littry, Saint-Éloy, (14) |  |
Pot à dispositif obtenu par déformation | Vase dont le diamètre d’ouverture est proche du diamètre maximum de la panse, muni soit d’un élément de préhension non rapporté, soit d’un élément verseur non rapporté. |
Pot à dispositif obtenu par déformation 1 (PDD 1) | Pot à lèvre droite à extrémité arrondie et pincée pour former un bec. La panse est tronconique et le fond est plat. Datation : XVe s. Lieu de découverte : Rai (61) |  |
Pot à dispositif obtenu par déformation 1-2 | pot à lèvre droite et à extrémité arrondie, pincé pour former un bec verseur. La panse est tronconique et le fond est plat. Ces formes ouvertes assimilables à des creusets sont surreprésentés au sein des tessonnières, leur taille varie de 2 à plus de 10 cm Datation : XVIe siècle Lieu de découverte : Louviers Département : 27 |  |
Pot à dispositif obtenu par déformation 2 (PDD 2) | Pot à lèvre éversée, à extrémité arrondie et étirée pour former deux tenons opposables. Le col est court et droit. La panse est globulaire et le fond est convexe. Il est décoré de stries de tournage sur la moitié supérieure de la panse. Datation : XVe s. Lieu de découverte : Le Molay-Litry Planitre (14) |  |
Pot à dispositif obtenu par déformation 3 (PDD 3) | Pot globulaire avec une lèvre éversée à 45° sans col, avec la face externe plate, et la face supérieure biseauté et possédant une gouttière. La lèvre est pincée pour former un bec. L’extremum de la panse se situe au milieu. Datation : XIe-XIe s. Lieu de découverte : La Roche-Mabile, La Grande Ouche (60) |  |
Pot avec dispositif rapporté | Vase dont le diamètre d’ouverture est proche du diamètre maximum de la panse, muni uniquement d’un dispositif de préhension comme le tenon ou l’anse (une, deux ou anse panier), etc. |
Pot avec dispositif rapporté 1 | Pot à lèvre éversée et col court. La panse est globulaire et le fond est plat. Il possède une anse plate dont l'attache supérieure est sur la lèvre. |
Pot avec dispositif rapporté 1-1 (PDR 1-1) | La lèvre éversée est inclinée à 45° vers l'extérieur et son extrémité est plate. La face interne de la lèvre est concave. Le col évasé. La transition col/panse est marquée par un ressaut. Datation : XVe s. Lieu de découverte : Caen Montoir-Poissonnerie (14) |  |
Pot avec dispositif rapporté 1-2 (PDR 1-2) | Lèvre éversée avec une face externe inclinée à 45° et une face interne verticale. La face supérieure de la lèvre est légèrement concave (flèche). Le col est droit. Datation : XVe s. Lieu de découverte : Caen Montoir-Poissonnerie (14) |  |
Pot avec dispositif rapporté 1-3 (PDR 1-3) | La lèvre éversée est inclinée à 45° et son extrémité se termine par un petit bandeau qui peut être décoré de stries. Le col est évasé. La transition col/panse par un ressaut. Datation : XVe s. Lieu de découverte : Caen Montoir-Poissonnerie (14) |  |
Pot avec dispositif rapporté 1-4 (PDR 1-4) | La lèvre éversée est inclinée à 45° et son extrémité est épaissie et biseauté sur sa face interne. Le col est court. La panse peut être décorée de stries de tournage sur la moitié supérieure de la panse. Datation : XVe s. Lieu de découverte : Caen Montoir-Poissonnerie (14) |  |
Pot avec dispositif rapporté 1-5 (PDR 1-5) | La lèvre éversée est inclinée à 45° vers l'extérieur et son extrémité épaissie est plate décorée d'une strie (type poulie). Le col est très court. Ce pot peut être décoré de stries de tournage sur la moitié supérieure de la panse ou d'une bande rapportée placée horizontalement sur le haut de la panse et écrasée par un ustensile plat. Datation : Datation : XVe s Lieu de découverte : Caen Montoir-Poissonnerie (14) |  |
Pot avec dispositif rapporté 1-6 (PDR 1-6) | La lèvre éversée est inclinée à 45° vers l'extérieur et son extrémité est plate, verticale et striée et la face interne possède un ressaut. Le col est évasé. La transition col/panse est marquée par un ressaut. Datation : Datation : XVe s Lieu de découverte : Caen Montoir-Poissonnerie (14) |  |
Pot avec dispositif rapporté 1-7 (PDR 1-7) | La lèvre est éversée et a une extrémité carrée. Le col est évasé. Datation : Datation : XVe s Lieu de découverte : Caen Montoir-Poissonnerie (14) |  |
Pot avec dispositif rapporté 1-8 (PDR 1-8) | Pot à lèvre éversée, à extrémité ovale. L'attache inférieure de l'anse se fait sur l'épaule. Datation : Xe s. Lieu de découverte : Giberville, Delle-sur-le-Marais (14) |  |
Pot avec dispositif rapporté 2 | Pot à lèvre bifide et col court. La panse est globulaire et le fond est plat. Il possède une anse plate dont l'attache supérieure se fixe sur la lèvre |
Pot avec dispositif rapporté 2-1 (PDR 2.1) | La lèvre bifide est épaissie face interne et externe et plate sur partie supérieure. Le col est court est rentrant. Datation : XVe s. Lieu de découverte : Caen Montoir-Poissonnerie (14) |  |
Pot avec dispositif rapporté 3 | Pot à lèvre éversée et col court. La panse est globulaire et le fond est plat. Il possède une anse ronde et creuse dont l'attache supérieure se fixe sur la lèvre. |
Pot avec dispositif rapporté 3-1 (3.1 ) | La lèvre éversée est inclinée à 45° et son extrémité se termine par un petit bandeau qui peut être décorée de stries. le col est évasé. La transition col/panse est marquée par un ressaut. Datation : XVe s. Lieu de découverte : Caen Montoir-Poissonnerie (14) |  |
Pot avec dispositif rapporté 4 | Pot à lèvre droite et col court. La panse est globulairte et le fond est plat. Il possède une anse plate dont l'attache supérieure se fixe sur la lèvre. |
Pot avec dispositif rapporté 4-1 (PDR 4.1) | La lèvre droite est à extrémité arrondie. le col est droit ou légèrement rentrant. Datation : XVe s. Lieu de découverte : Caen Montoir-Poissonnerie (14) |  |
Pot avec dispositif rapporté 4-2 (PDR 4.2) | La lèvre droite possède une extrémité aplatie. Le col est rentrant Datation : XVe s. Lieu de découverte : Rai (61) |  |
Pot avec dispositif rapporté 4-3 (PDR 4.3) | La lèvre droite possède une extrémité biseautée aplatie et décorée d'une strie. Le col est rentrant. Datation : XVe s. Lieu de découverte : Rai (61) |  |
Pot avec dispositif rapporté 5 | Pot à lèvre rentrante et col court. La panse est globulaire et le fond plat. Il possède une anse plate dont l'attache supérieure se fixe sur la lèvre. |
Pot avec dispositif rapporté 5-1 (PDR 5.1) | La lèvre est rentrante avec une extrémité arrondie. Le col est rentrant. Datation : XVe s. Lieu de découverte : Caen Montoir-Poissonnerie (14) |  |
Pot avec dispositif rapporté 6 | Pot à lèvre bifide et col court. La panse est globulaire et le fond est plat. Une anse ronde creuse s'attache sur le col. |
Pot avec dispositif rapporté 6-1 (PDR 6.1) | La lèvre bifide avec une face supérieure plate. Le col est court et rentrant. La transition col/panse est marquée par un ressaut. Datation : XVe s. Lieu de découverte : Caen Montoir-Poissonnerie (14) |  |
Pot avec dispositif rapporté 7 | Pot à lèvre droite, col moyen, panse globulaire et fond plat. L'anse n'est pas connue. |
Pot avec dispositif rapporté 7-1 (PDR 7.1) | La lèvre droite possède une extrémité plate. Datation : XVe s. Lieu de découverte : Caen Montoir-Poissonnerie (14) |  |
Pot avec dispositif rapporté 8 | Pot ovoïde à lèvre éversée. Le fond est plat. Le col est moyen. Il possède une anse verticale plate dont l'attache supérieure se fait sur la lèvre. |
Pot avec dispositif rapporté 8-1 (PDR 8.1) | Pot à lèvre éversée avec une face externe inclinée à 45° et une face interne verticale. La face supérieure est légèrement concave (flèche). Le col moyen est rentrant et bombé. La transition col/panse est marquée par un bourrelet. L'anse plate a ses deux côtés repliés sur la face externe et possède des cannelures. Datation : XVe s. Lieu de découverte : Caen Montoir-Poissonnerie (14) |  |
Pot avec dispositif rapporté 8-2 (PDR 8.2) | La lèvre éversée est inclinée à 45° et possède une extrémité arrondie. Le col moyen est rentrant et bombé. La transition col/panse est marquée par un bourrelet. L'anse plate a un côté replié sur la face externe et un côté replié sur la face interne. Datation : XVe s. Lieu de découverte : Caen Montoir-Poissonnerie (14) |  |
Pot avec dispositif rapporté 9 | Pot ovoïde à lèvre éversée. Le fond est plat. Le col est court. Il possède une anse verticale plate dont l’attache supérieure se fait sur la lèvre. Un ou plusieurs tenons ajoutés s’attachent sur la lèvre. |
Pot avec dispositif rapporté 9-1 (PDR 9.1) | La lèvre éversée est inclinée à 45° et possède une extrémité arrondie. Le col court est rentrant et bombé. La transition col/panse est marquée par un bourrelet. L’anse plate a un côté replié sur la face externe et un côté replié sur la face interne. Un tenon ajouté s’attache sur le côté opposé à l’anse. Datation : XVe s. Lieu de découverte : Caen Montoir-Poissonnerie (14) |  |
Pot avec dispositif rapporté 9-2 (PDR 9.2) | La lèvre éversée est inclinée à 90° et possède une extrémité arrondie. Le col court est rentrant et bombé. La transition col/panse est marquée par un petit bourrelet. L’anse plate a un côté replié sur la face externe et un côté replié sur la face interne. Trois tenons ajoutés et digités s’attachent sur la lèvre. Datation : XVe s. Lieu de découverte : Caen Montoir-Poissonnerie (14) |  |
Pot avec dispositif rapporté 10 | Pot à lèvre en bandeau avec un col court, une panse ovoïde et un fond plat. Une anse plate s’attache sur la lèvre. |
Pot avec dispositif rapporté 10-1 (PDR 10.1) | La lèvre en bandeau est carrée avec une partie sommitale concave. Le col court est rentrant. Datation : XVe s. Lieu de découverte : Caen Montoir-Poissonnerie (14) |  |
Pot avec dispositif rapporté 11 | Pot globulaire à lèvre en bandeau, sans col. Le fond est plat avec des pieds tripodes étirés. Une anse plate s’attache sur la lèvre. |
Pot avec dispositif rapporté 11-1 (PDR 11.1) | La lèvre a un large bandeau. Datation : XVe s. Lieu de découverte : Caen Montoir-Poissonnerie (14) |  |
Pot avec dispositif rapporté 12 | Pot globulaire à lèvre éversée, sans col. Le fond est plat avec des pieds tripodes ajoutés. Une anse plate s’attache sur la lèvre. |
Pot avec dispositif rapporté 12-1 (PDR 12.1) | La lèvre éversée à une extrémité plate. Les pieds ont une section tubulaire. Datation : XVe s. Lieu de découverte : Caen Montoir-Poissonnerie (14) |  |
Pot avec dispositif rapporté 13 | Pot à lèvre éversée et col moyen. Celui-ci possède une partie supérieure verticale qui se termine par un décrochement interne, et une partie inférieure évasée. La panse est globulaire et le fond est plat. Une anse plate s’attache sur le col. |
Pot avec dispositif rapporté 13-1 (PDR 13.1) | La lèvre éversée possède une face externe inclinée à 45° et une face interne verticale. La face supérieure est légèrement concave (flèche). Datation : XVe s. Lieu de découverte : Caen Montoir-Poissonnerie (14) |  |
Pot avec dispositif rapporté 14 | Pot globulaire à lèvre éversée et col court. Le fond est plat. Une anse plate s’attache sur la lèvre ainsi qu’un tenon ajouté. |
Pot avec dispositif rapporté 14-1 (PDR 14.1) | La lèvre éversée possède une face externe inclinée, une face interne dans la continuité du col et une face supérieure légèrement concave (flèche). Le col court est bombé. L’anse plate a ses deux côtés repliés sur la face externe et possède des cannelures. Le tenon ajouté se situe sur le côté opposé à l’anse. Datation : XVe s. Lieu de découverte : Caen Montoir-Poissonnerie (14) |  |
Pot avec dispositif rapporté 15 | Pot globulaire à lèvre droite. Le col moyen est composé de deux parties bombées séparées par une carène centrale. Le fond est plat. Une anse plate s’attache sur le haut de la panse. |
Pot avec dispositif rapporté 15-1 (PDR 15.1) | La lèvre droite à une extrémité arrondie. Le col est évasé. Datation : XVe s. Lieu de découverte : Caen Montoir-Poissonnerie (14) |  |
Pot avec dispositif rapporté 16 | Pot globulaire à lèvre éversée sans col et à fond plat. L’anse plate s’attache sur le haut du col. |
Pot avec dispositif rapporté 16-1 (PDR 16.1) | La lèvre éversée est inclinée à 45° et sa partie sommitale est arrondie. Datation : XVe s. Lieu de découverte : Caen Montoir-Poissonnerie (14) |  |
Pot avec dispositif rapporté 17 | Pot ovoïde à lèvre éversée, col court et fond plat. L’anse plate s’attache sur la lèvre. |
Pot avec dispositif rapporté 17-1 (PDR 17.1) | La lèvre éversée est inclinée à moins de 45° et a une extrémité plate. Le col court est vertical. Datation : XVe s. Lieu de découverte : Rai (61) |  |
Pot avec dispositif rapporté 18 | Pot globulaire à lèvre éversée, col court et fond convexe. Une anse plate s’attache sur la lèvre. |
Pot avec dispositif rapporté 18-1 (PDR 18.1) | La lèvre éversée possède une face externe inclinée, une face interne dans la continuité du col et une face supérieure plate à légèrement concave (flèche). La panse est décorée de stries de tournage sur le tiers supérieur. Datation : XVe s. Lieu de découverte : Coutances (50) |  |
Pot avec dispositif rapporté 19 | Pot ovoïde à lèvre éversée et sans col. Le fond est plat. L'anse plate est verticale et s'attache sur la lèvre. |
Pot avec dispositif rapporté 19-1 | Pot possédant une lèvre éversée à extrémité rectangulaire. L'attache inférieure de l'anse se fait sur l'épaule Datation : Xe s. Lieu de découverte : Subles, Grand-Jardin, (14) |  |
Pot avec dispositif rapporté 20 | Pot globulaire à lèvre éversée et sans col. Il possède deux anses plates dont l'attache supérieure est sur la lèvre. |
Pot avec dispositif rapporté 20-1 (PDR 20.1) | La lèvre éversée est inclinée à 90° et possède une extrémité arrondie. Datation : Xe s. Lieu de découverte : Saint Martin-des-Entrées (14) |  |
Pot avec dispositif rapporté 21 | Pot globulaire à lèvre en collerette. Le fond n'est pas connu. Un dispositif verseur de type bec tubulaire ponté est situé sur le haut de la panse et s'attache aussi à la lèvre. |
Pot avec dispositif rapporté 21-1 | Pot globulaire à lèvre en collerette. Le fond n'est pas connu. Un dispositif verseur de type bec tubulaire ponté est situé sur le haut de la panse et s'attache aussi à la lèvre. Datation : Xe Lieu de découverte : Cherbourg, Rue Maréchal Foch, (50) |  |
Gourde | Récipient muni d’un goulot, généralement sans base. Si elle existe ce récipient est muni d’un goulot latéral. |
Gourde 1 | Gourde à panse globulaire plate. Elle possède une lèvre éversée arrondie de type goulot. Une anse plate horizontale est conservée sur le haut de la panse. Datation : XVe s. Lieu de découverte : Caen Montoir-Poissonnerie (14) |  |
Gourde 2 | Gourde à panse globulaire plate et à lèvre en bandeau formant un goulot. Deux anses verticales rondes et pleines s’attachent sur le haut de la panse. Un motif imprimé de type héraldique se situe sur la face plate de la panse. Datation : XVe s. Lieu de découverte : Caen Montoir-Poissonnerie |  |
Tirelire | Récipient dont l’une des ouvertures est une fente sur le haut de la panse. |
Tirelire 1 | Vase ovoïde qui se termine par un tenon sommital pointu et sans doute un pied balustre. La fente est verticale. Datation : XVe s. Lieu de découverte : Caen Montoir-Poissonnerie |  |
Tirelire 2 | Vase ovoïde qui se termine par un tenon sommital peu arqué, voir absent. Le fente est horizontale. Datation : XVe s. Lieu de découverte : Caen Montoir-Poissonnerie |  |
Pichet-Cruche | Récipient différent du pot s’il possède au moins 2 des 4 caractéristiques ci-dessous :
Soit
• un élément de préhension
• un élément verseur
• un rapport du diamètre d’ouverture sur le diamètre maximum de la panse ? 1/3
• un col, c'est-à-dire HCol/Htotal ? à 1/5.
|
Pichet-Cruche 1 (P-C 1) | Pichet/cruche à panse globulaire, possédant un col évasé, une anse verticale plate dont l’attache supérieure se fait sur la lèvre et un bec tubulaire. La lèvre est droite et le fond est plat. |
Pichet-Cruche 1-1 (P-C 1.1) | La lèvre est droite épaissie. Le bec tubulaire est placé au dessus de la jonction de la panse et du col. L’attache inférieure de l’anse se fait sur l’épaule. Datation : Xe s. |  |
Pichet-Cruche 2 (P-C 2) | Pichet/cruche à panse ovoïde, col court, possédant une anse verticale plate dont l’attache supérieure est sur la lèvre, et un bec tubulaire. La lèvre est de type éversée et le fond n’est pas connu. |
Pichet-Cruche 2-1 (P-C 2.1) | La lèvre est éversée à extrémité ovale. Le bec est semi tubulaire et placé sur la partie haute de la panse. Datation : Xe s. |  |
Pichet-Cruche 3 (P-C 3) | Pichet/cruche à panse globulaire, sans col. Il possède une anse plate dont l’attache supérieure se fait sur la lèvre ainsi qu’un bec ponté. La lèvre est de type bifide et le fond n’a pas été restitué. |
Pichet-Cruche 3-1 (P-C 3.1) | L’aménagement de la face supérieure de la lèvre par le façonnage d’une gorge lui confère le profil d’une collerette. L’attache inférieure de l’anse se trouve sur l’épaule. L’extremum de la panse se trouve à mi-hauteur. Datation : Xe s. |  |
Pichet-Cruche 4 (P-C 4) | Pichet/cruche à lèvre éversée et col haut. La panse est globulaire et le fond est plat. Une anse verticale plate s’attache sur la lèvre. |
Pichet-Cruche 4-1 (P-C 4.1) | La lèvre éversée possède une face externe inclinée, une face interne dans la continuité du col et une face supérieure légèrement concave (flèche). Le col est rentrant et est décorée de stries de tournage. Datation : XVe s. Lieu de découverte : Caen Montoir-Poissonnerie (14) |  |
Pichet-Cruche 5 (P-C 5) | Pichet/cruche à lèvre en bandeau et col moyen. La panse est globulaire balustre et le fond est plat. Une anse ronde est creuse s’attache sur le col. |
Pichet-Cruche 5-1 (P-C 5.1) | La lèvre en bandeau est plate et la partie sommitale est biseautée. Datation : XVe s. Lieu de découverte : Caen Montoir-Poissonnerie (14) |  |
Pichet-Cruche 6 (P-C 6) | Pichet/cruche de type ovoïde à lèvre droite, fond plat et à col haut. L’anse est de type vertical et l’attache supérieure se fait sur le col. |
Pichet-Cruche 6-1 (P-C 6.1) | La lèvre droite possède une extrémité arrondie. Le col est vertical et est décoré de stries de tournage. Datation : XVe s. Lieu de découverte : Caen Montoir-Poissonnerie (14) |  |
Pichet-Cruche 7 (P-C 7) | Pichet/cruche de panse ovoïde, à lèvre en bandeau, fond plat, et à col haut. L’anse est verticale et plate et l’attache supérieure se fait au niveau de la lèvre. Il possède un couvercle articulé. |
Pichet-Cruche 7-1 (P-C 7.1) | La lèvre en bandeau possède une partie sommitale arrondie. Le col est vertical et concave. Datation : XVe s. Lieu de découverte : Caen Montoir-Poissonnerie (14) |  |
Pichet-Cruche 8 (P-C 8) | Pichet/cruche à panse globulaire, lèvre éversée, fond plat, et à col court. L’anse verticale, ronde et creuse s’attache au col dans sa partie supérieure. |
Pichet-Cruche 8-1 (P-C 8.1) | La lèvre éversée possède une face externe inclinée, une face interne dans la continuité du col et une face supérieure légèrement concave (flèche). Le col est vertical. Datation : XVe s. Lieu de découverte : Caen Montoir-Poissonnerie (14) |  |
Pichet-Cruche 9 (P-C 9) | Pichet/cruche à panse globulaire, à lèvre éversée, fond plat et à col court moyen. Il possède un bec pincé. L’anse est verticale et plate et s’attache dans sa partie supérieure à la lèvre. |
Pichet-Cruche 9-1 (P-C 9.1) | La lèvre éversée possède une face externe inclinée, une face interne dans la continuité du col et une face supérieure légèrement concave (flèche). Le col est rentrant et décoré de stries de tournage. La panse possède un décor de bandes rapportées. Datation : XVe s. Lieu de découverte : Caen Montoir-Poissonnerie (14) |  |
Pichet-Cruche 10 (P-C 10) | Pichet/cruche globulaire à lèvre droite de type goulot. Le fond est plat. Une anse plate verticale s’attache sur la lèvre. |
Pichet-Cruche 10-1 (P-C 10.1) | La lèvre droite a une extrémité plate légèrement concave. Des bandes rapportées décorent la panse. Datation : XVe s. Lieu de découverte : Caen Montoir-Poissonnerie (14) |  |
Pichet-Cruche 11 (P-C 11) | Pichet/cruche globulaire à lèvre éversée de type goulot. Le fond est plat. Une anse plate verticale s’attache sur la lèvre. |
Pichet-Cruche 11-1 (P-C 11.1) | La lèvre éversée possède une face externe inclinée, une face interne dans la continuité du col et une face supérieure légèrement concave (flèche). Datation : XVe s. Lieu de découverte : Caen Montoir-Poissonnerie (14) |  |
Pichet-Cruche 12 (P-C 12) | Pichet ovoïde possédant une lèvre éversée, un bec pincé, un col droit, un fond plat et une anse plate. |
Pichet-Cruche 12-1 (P-C 12.1) | La lèvre est rectangulaire et éversée entre 45 et 90°. L’extremum de la panse est au tiers supérieur. Datation : XIe-XIIe s. Lieu de découverte : Lisieux, Hôpital, (14) |  |
Pichet-Cruche 13 (P-C 13) | Pichet /cruche à lèvre éversée, col moyen droit, la panse est globulaire et le fond est convexe. Une anse plate s’attache sur le col. |
Pichet-Cruche 13-1 (P-C 13.1) | Ce pichet/cruche possède une lèvre éversée avec une face externe plate, et une face interne biseauté et possédant une gouttière. L’anse est plate et possède les bords redressés sur la face externe et digité la partie centrale est concave. L’extremum de la panse est à la moitié. Datation : XIe-XIIe s. Lieu de découverte : Courseulles-sur-mer, Fosses-Saint-Ursin, (14) |  |
Pichet-Cruche 14 (P-C 14) | Pichet /cruche à lèvre éversée, col moyen droit, la panse est ovoïde et le fond est plat. |
Pichet-Cruche 14-1 (P-C 14.1) | Ce pichet/cruche possède une lèvre éversée avec une face externe plate, et une face interne biseauté et possédant une gouttière. L’anse n’est pas connue. L’extremum de la panse est à la moitié. Datation : XIe-XIIe s. Lieu de découverte : Mondeville, Delle Saint Martin, (14) |  |
Tonnelet | Récipient en forme de petit tonneau, avec une ouverture latérale. |
Albarello | La forme s’inscrit dans un cylindre dont le diamètre d’ouverture est égal ou très proche du diamètre maximum de la panse et du fond sans dispositif de préhension et sans verseur. |
Bouteille | Vase sans dispositif verseur et de préhension dont le diamètre d'ouverture (goulot) est inférieure à 1/3 du diamètre d'ouverture maximum de la panse. |
Autre vase | à définir |
Autre vase 1 | à définir |  |
Autre vase 2 | à définir |  |
Autre vase 3 | à définir |
Formes ouvertes | Le récipient est de forme ouverte lorsque le diamètre d'embouchure est supérieur à la hauteur générale du vase. |
Coupe | Récipient dont le diamètre d’ouverture est inférieur ou égal à 15 cm et sans élément rapporté. |
Coupe 1 | Coupe à lèvre éversée et à panse hémisphérique. Le fond est plat. Datation : XVe s. Lieu de découverte : Caen Montoir-Poissonnerie (14) |
Coupe 1-1 | La lèvre éversée possède une face externe inclinée, une face interne dans la continuité du col et une face supérieure légèrement concave (flèche). Datation : XVe s. Lieu de découverte : Caen Montoir-Poissonnerie (14) |  |
Coupe 2 | Coupe à lèvre en bandeau et à panse hémisphérique. Le fond est plat. Datation : XVe s. Lieu de découverte : Caen Montoir-Poissonnerie (14) |
Coupe 2-1 | La lèvre en bandeau possède une partie supérieure arrondie. Datation : XVe s. Lieu de découverte : Caen Montoir-Poissonnerie (14) |  |
Coupe 3 | Coupe à lèvre droite et à panse hémisphérique. Le fond est plat. Datation : XVe s. Lieu de découverte : Rai (61) |
Coupe 3-1 | La lèvre droite possède une extrémité arrondie. Datation : XVe s. Lieu de découverte : Rai (61) |  |
Coupe 3-2 | La lèvre droite a une extrémité arrondie (plus épaisse que la 3.1) Datation : Xe s. Lieu de découverte : Subles (14) |  |
Assiette | Récipient dont le diamètre d’ouverture est supérieur à 15 cm et inférieur ou égal à 35 cm et sans élément rapporté. |
Assiette 1 | Assiette à lèvre éversée de type marli Datation : XVe s. Lieu de découverte : Caen Montoir-Poissonnerie (14) |  |
Assiette 2 | Assiette à lèvre de type bifide et à extrémité bombée. Datation : XVe s. Lieu de découverte : Caen Montoir-Poissonnerie (14) |  |
Plat | Récipient dont le diamètre d’ouverture est supérieur 35 cm et sans élément rapporté. |
Plat 1 | Plat à lèvre éversée et à panse tronconique. Le fond est légèrement convexe. Datation : XVe s. Lieu de découverte : Caen Montoir-Poissonnerie (14) |
Plat 1-1 | La lèvre éversée possède une face externe inclinée, une face interne dans la continuité du col et une face supérieure légèrement concave (flèche). Datation : XVe s. Lieu de découverte : Caen Montoir-Poissonnerie (14) |  |
Coupe AVEC pied tourné ou rapporté | Récipient dont le diamètre d’ouverture est inférieur ou égal à 15 cm. |
Coupe AVEC pied tourné ou rapporté 1 | Coupe à lèvre éversée et à panse hémisphérique. Le fond est plat. Il possède un pied tourné de forme balustre et creux. Datation : XVe s. Lieu de découverte : Caen Montoir-Poissonnerie (14) |  |
Assiette AVEC pied tourné ou rapporté | Récipient dont le diamètre d’ouverture est supérieur à 15 cm et inférieur ou égal à 35 cm. |
Plat AVEC pied tourné ou rapporté | Récipient dont le diamètre d’ouverture est supérieur à 35 cm. |
Bol | Vase à paroi faiblement évasée dont le diamètre d’ouverture est inférieur ou égal à 15 cm. Il peut être muni d’un élément de préhension autre qu’une anse verticale et une queue. |
Bol 1 | Bol hémisphérique, à lèvre éversée et à fond plat. |
Bol 1-1 | La lèvre est éversée à extrémité ovale. Le fond est composé d’un pied annulaire (?) Datation : Xe s. |  |
Bol 2 | Bol cylindrique à lèvre en collerette. Le fond n’est pas représenté |
Bol 2-1 | La lèvre est de type en collerette dont l’extrémité peut être verticale ou légèrement rentrant. Datation : Xe s. |  |
Jatte | Vase à paroi faiblement évasée dont le diamètre d’ouverture est supérieur à 15 cm et inférieur à 35 cm. |
Jatte 1 | Jatte à lèvre éversée et à panse hémisphérique. La lèvre est pincée pour former un bec. Le fond est plat. |
Jatte 1-1 | La lèvre éversée est inclinée à 45°. Elle possède une extrémité arrondie et un bourrelet sur sa face externe. Datation : XVe s. Lieu de découverte : Caen Montoir-Poissonnerie |  |
Jatte 2 | Jatte à panse tronconique et à fond plat. Il possède une lèvre éversée. |
Jatte 2-1 | La lèvre éversée est inclinée à 90° et possède une extrémité arrondie. Datation : XVe s. Lieu de découverte : Caen Montoir-Poissonnerie (14) |  |
Jatte 3 | Jatte à lèvre éversée et à panse hémisphérique. Le fond est plat. |
Jatte 3-1 | La lèvre éversée est inclinée à 45° pour former un aplat sur la face interne. Datation : XVe s. Lieu de découverte : Caen Montoir-Poissonnerie (14) |  |
Jatte 4 | Jatte possédant une lèvre en bandeau et une panse hémisphérique, avec un bec pincé et un fond plat. |
Jatte 4-1 | La lèvre en bandeau possède une face extérieure concave. Datation : XVe s. Lieu de découverte : Caen Montoir-Poissonnerie (14) |  |
Jatte 5 | Jatte possédant une lèvre en bandeau et une panse tronconique, le fond est convexe. |
Jatte 5-1 | La lèvre en bandeau possède une face extérieure concave. Datation : XVe s. Lieu de découverte : Le Molay-Litry Planitre (14) |  |
Jatte 6 | Jatte hémisphérique, à lèvre bifide et dont le fond n’est pas connu. |
Jatte 6-1 | La lèvre éversée est composée d’un épaississement saillant vers l’extérieur du vase. Datation : Xe s. Lieu de découverte : Subles (14) |  |
Jatte 7 | Jatte tronconique, elle possède un bec pincé, une lèvre bifide et un fond plat. |
Jatte 7-1 | La lèvre bifide est surmontée d’une large gorge formant une collerette saillante vers l’extérieur du vase. Le dispositif verseur est aménagé par écrasement de la partie supérieure de la lèvre. Datation : Xe (s.) Lieu de découverte : Cherbourg (50) |  |
Bassin | Vase de même morphologie que le bol, dont le diamètre d’ouverture est supérieur à 35 cm. Peut-être muni d’un élément verseur. |
Bassin 1 | Bassin, à lèvre bifide et dont le fond n’est pas représenté. |
Bassin 1-1 | La lèvre éversée est composée d’un épaississement saillant vers l’extérieur du vase. Datation : Xe s. |  |
Tasse/Chope (Chopine) | Vase à paroi faiblement évasée et dont le diamètre d’ouverture est compris entre une fois et demi et deux fois et demie la hauteur, muni d’au moins une anse verticale. |
Poêle/Poêlon | Récipient dont la forme générale est proche du bol/jatte et muni au moins d’une queue. |
Poêle/Poêlon 1 | Poêlon à lèvre éversée et à panse hémisphérique. Le fond est plat. Une queue circulaire et creuse s’attache sur la lèvre. |
Poêle/Poêlon 1-1 | La lèvre éversée, inclinée à 90°, possède une extrémité plate. Datation : XVe s. Lieu de découverte : Caen Montoir-Poissonnerie (14) |
Poêle/Poêlon 2 | Poêlon à lèvre en bandeau et à panse tronconique. Le fond est plat. Une queue circulaire et creuse s’attache sur la lèvre. Datation : XV e s. Lieu de découverte : Caen Montoir-Poissonnerie (14) |
Poêle/Poêlon 2-1 | La lèvre en bandeau possède une extrémité arrondie. Datation : XVe s. Lieu de découverte : Caen Montoir-Poissonnerie (14) |
Poêle/Poêlon 3 | Poêlon à lèvre éversée et à panse hémisphérique balustre. Le fond est plat et une queue circulaire et creuse s’attache sur la lèvre. |
Poêle/Poêlon 3-1 | La lèvre éversée est inclinée à 90° et possède une extrémité arrondie. Datation : XVe s. Lieu de découverte : Caen Montoir-Poissonnerie (14) |
Réchaud/Réchauffoir | Récipient servant de support à un autre récipient, le plus fréquemment muni d’éléments de préhensions et d’excroissances sur la lèvre. |
Réchaud/Réchauffoir 1 | Le réchauffoir possède une panse carénée, la lèvre est de type éversée. Les pieds tripodes, sont digités. Il possède deux anses plates qui s’attachent sur la lèvre et sur laquelle sont ajoutés trois tenons digités. Datation : XVe s. Lieu de découverte : Caen Montoir-Poissonnerie (14) |  |
Réchaud/Réchauffoir 2 | Récipient ouvert à lèvre est éversée. Il possède des pieds tripodes digités et trois tenons cylindriques. Il possède deux anses plates dont l’attache supérieure est sur la lèvre. Datation : XVe s. Lieu de découverte : Caen Montoir-Poissonnerie (14) |  |
Lèchefrite | Récipient plat, de forme allongée, avec des parois droites plus ou moins évasées muni d’éléments de préhensions. |
Lèchefrite 1 | Récipient à lèvre droite et à panse parallélépipédique. Le fond est plat. La transition panse/fond est droite. La queue est creuse et s’attache sur la lèvre. |
Lèchefrite 1-1 (LF1.1) | La lèvre droite à une extrémité arrondie. Datation : XVe s. Lieu de découverte : Caen Montoir-Poissonnerie (14) |  |
Lèchefrite 2 | Récipient à lèvre éversée, à panse parallélépipédique et à fond plat. La transition panse/fond est arrondie. La queue est creuse et s’attache sur la lèvre. |
Lèchefrite 2-1 (LF 2.1) | La lèvre éversée possède une face externe inclinée, une face interne dans la continuité du col et une face supérieure légèrement concave (flèche). Datation : XVe s. Lieu de découverte : Caen Montoir-Poissonnerie (14) |  |
Lèchefrite 3 | Récipient à lèvre en bandeau, à panse parallélépipédique et à fond plat. La transition panse/fond est droite. |
Lèchefrite 3-1 | La lèvre est en bandeau. Datation : XVe s. Lieu de découverte : Caen Montoir-Poissonnerie (14) |  |
Faisselle/Passoire | Récipient muni d’un grand nombre de trous sur les parois et/ou le fond. |
Faisselle/Passoire 1 | Récipient tronconique à lèvre éversée et à fond convexe. Il est percé sur la panse et sur le fond. Il semble posséder des pieds. |
Faisselle/Passoire 1-1 | La lèvre éversée possède une face externe inclinée, une face interne dans la continuité du col et une face supérieure légèrement concave (flèche). Datation : XVe S. Lieu de découverte : Caen Montoir-Poissonnerie (14) |  |
Autres formes | Il s'agit de toutes les autres formes en terre cuite appartenant au vaisselier et plus généralement au mobilier domestique. |
Couvercle | Ustensile venant couvrir un autre récipient (pot, marmite...) dans le but de maintenir au chaud son contenu lors de la cuisson ou du service. |
Couvercle 1 | Couvercle de type circulaire et plan. Possède un tenon central de type anse panier. Datation : XVe s. Lieu de découverte : Caen Montoir-Poissonnerie (14) |  |
Couvercle 2 | Couvercle à paroi évasée formant un tenon circulaire au centre du couvercle. L’extrémité est droite. Datation : XVe s. Lieu de découverte : Caen Montoir-Poissonnerie (14) |  |
Couvercle 3 | Couvercle à paroi évasée formant un tenon circulaire au centre. L’extrémité bifide forme une gouttière pour positionner la lèvre du pot. Datation : XVe s. Lieu de découverte : Caen Montoir-Poissonnerie (14) |  |
Couvre-feu | Ustensile de très grande taille, avec une paroi épaisse et des trous sur sa partie haute. |
Lampe | Objet destiné à l'éclairage |
Lampe 1 | Lampe formée d’une coupe de type 3.1 à lèvre rentrante et d’un bec pincé. Datation : XVe s. Lieu de découverte : Caen Montoir-Poissonnerie (14) |  |
Lampe 2 | Lampe formée d’une coupelle réceptacle avec un pied plein circulaire, dont les parois s’évasent pour former une autre coupelle autour du pied. (Type v2 dans typologie de Lefèvre et Meyer Datation : XVe s. Lieu de découverte : Caen Montoir-Poissonnerie (14) |  |
Chaufferette | à définir |
Chaufferette 1 | à définir |  |