Répertoire des formes - Centre-Ouest de la France

Contribution : Le répertoire des formes présenté ici résulte du Projet Collectif de Recherche sur la céramique médiévale et moderne du Centre-Ouest de la France (6e-18e s.). Ce programme de recherche est coordonné par Philippe Husi (UMR 7324, CITERES-LAT) depuis 1996. La liste suivante présente les membres qui participent ou ont participé à ce programme, donc à l’élaboration des outils typologiques.
Viviane Aubourg (Ministère de la Culture) ;Cécile Bébien (PAIR, Alsace) Anne Bocquet (Service Patrimoine CG de la Mayenne) ; Jérôme Bouillon (INRAP) ; Marie Pierre Chambon (INRAP) ; Emmanuelle Coffineau (INRAP) ; Alexandra Finet (Bourges Plus) ; Ludovic Fricot (Service Archéologique CG Maine et Loire) ; Claire Gerbaud (CDD archéologie) ; Etienne Jaffrot (EVEHA) ; Sébastien Jesset (Service Archéologique de la ville d’Orléans) ; Didier Josset (INRAP) ; Marie Christine Lacroix (MCC) ; Coline Lejault (Service. Archéologique. CG du Loiret) ; Chloée Leparmentier (Etudiante, Tours) ; Alexandre Longelin (Etudiant, Tours) ; Flore Marteaux (SADIL) ; Sébastien Millet (INRAP) ; Maxime Mortreau (INRAP) ; Anne Moreau (INRAP) ; Aurore Noel (EVEHA) ; Fabienne Ravoire (INRAP) ; Nadine Rouquet (Bourges Plus) ; Pierre Testard (INRAP) ; Brigitte Véquaud (INRAP).
Pour partie, ce répertoire est également complété par les membres du PCR sur la céramique moderne de la Charente et de la Charente maritime (coordonné par E. Normand, SRA Poitou-Charente).
Il est également complété par les membres du PCR sur la céramique médiévale et moderne des Pays-de-la Loire et de la Bretagne (Coordonné par Yves Henigfeld, Université de Nantes) : Sarah Grenouilleau (doctorante, Nantes) ; Aurore Noel (EVEHA), Françoise Labaune (INRAP).
L’articulation entre ces différents projets permet maintenant de couvrir ce vaste espace Centre et Ouest de la France.


[Retour] [PDF complet] [Réinitialiser la sélection][Rechercher]

                                                                                                                                                                                                                                                                                                                                                                                                                                                                                                                                                                                                                                                                                               
Formes ferméesLe récipient est de forme fermée lorsque le diamètre de l'embouchure est inférieur ou égal à la hauteur générale du vase.
PotRécipient avec ou sans anses, dont la taille varie beaucoup, mais dont le diamètre d'embouchure est proche du diamètre maximum de la panse.
Pot 10Récipient de taille moyenne, avec une panse ovoïde plutôt élevée et un col droit ou légèrement évasé. Il possède une anse mais pas d'élément verseur.
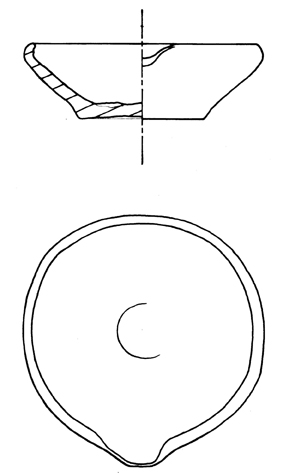
Pot 10-2Il possède un col plus court que le pot 10-1 et une lèvre plate. L'anse est légèrement cannelée.
Datation : 16e s.
Lieu de découverte : Surgères
Département : 17
Formes ouvertesLe récipient est de forme ouverte lorsque le diamètre d'embouchure est supérieur à la hauteur générale du vase.
Autres formesIl s'agit de toutes les autres formes en terre cuite appartenant au vaisselier et plus généralement au mobilier domestique.