Formes fermées | Le récipient est de forme fermée lorsque le diamètre de l'embouchure est inférieur ou égal à la hauteur générale du vase. |
Albarello | Récipient de forme haute à parois cylindriques généralement concaves destinées à faciliter la
préhension. |
Albarello 1 | Récipient cylindrique muni d’une lèvre dans le prolongement de la panse et d’un fond plat. |
Albarello 1-1 | Récipient cylindrique aux parois verticales, muni d’une lèvre en bandeau vertical. Datation : 1e moitié XVIIe Lieu de découverte : Chalon-sur-Saône, couvent des Visitandines Département : 71 |  |
Albarello 1-2 | Récipient cylindrique aux parois concaves, muni d’une lèvre en bandeau éversé. Datation : 1e moitié XVIIe Lieu de découverte : Chalon-sur-Saône, couvent des Visitandines Département : 71 |  |
Bouteille | Récipient de forme haute dont l’embouchure correspond à un goulot. |
Bouteille 1 | Récipient plus ou moins trapu, avec ou sans moyens de préhension et muni d’un large goulot. |
Bouteille 1-1 | Récipient globulaire muni d’un goulot tronconique et d’un fond plat aussi large que
le maximum de panse. Datation : XVIe Lieu de découverte : Cluny, abbaye, Grande Cour Intérieure Département : 71 |  |
Bouteille 2 | Récipient plus ou moins trapu, muni de deux anses latérales horizontales. Il est aussi
appelé « bonbonne ». |
Bouteille 2-1 | Récipient globulaire muni d’un goulot étroit et d’un fond plat ou débordant. Datation : Fin XVIIe Lieu de découverte : Decize, Groupe scolaire Monnot Département : 58 |  |
Coquemar | Récipient de taille petite à moyenne, destiné à chauffer et/ou à conserver, dont la caractéristique
principale est de ne posséder qu’une seule anse. |
Coquemar 1 | Récipient de forme variée, muni d’une anse latérale courte et d’un fond étroit. |
Coquemar 1-1 | Récipient ovoïde muni d’une lèvre simple ou légèrement
évasée. L’anse peut être bifide. Datation : XVIe Lieu de découverte : Cluny, abbaye, Grande Cour Intérieure Département : 71 |  |
Coquemar 1-2 | Récipient à panse élargie, muni d’une lèvre en bandeau court à
laquelle se rattache l’anse. Datation : Début XVIe Lieu de découverte : Auxerre, place des Véens Département : 89 |  |
Coquemar 2 | Récipient globulaire, muni d’une anse latérale courte et d’une embouchure étroite. |
Coquemar 2-1 | Récipient globulaire, muni d’une lèvre à méplat à laquelle se
rattache l’anse et d’un fond bombé. Datation : XVIe - XVIIe Lieu de découverte : Chalon-sur-Saône, Hôtel de Ville Département : 71 |  |
Coquemar 3 | Récipient de forme variée, muni d’une anse généralement élancée. Le diamètre d’embouchure est
proche de celui du fond, qui peut être de tout type (lenticulaire, bombé, plat ou base débordante)
sauf mentionné. |
Coquemar 3-1 | Récipient globulaire ou à panse élargie, muni d’une lèvre évasée. Datation : XVIe - XVIIe Lieu de découverte : Chalon-sur-Saône, Hôtel de Ville Département : 71 |  |
Coquemar 3-2 | Récipient globulaire ou à panse élargie, muni d’une lèvre triangulaire. La
liaison entre le col et la panse est souvent marquée d’un ressaut. Datation : XVIe - XVIIe Lieu de découverte : Chalon-sur-Saône, Hôtel de Ville Département : 71 |  |
Coquemar 3-3 | Récipient globulaire ou à panse élargie, muni d’une lèvre à méplat saillante. Datation : XVIe - XVIIe Lieu de découverte : Chalon-sur-Saône, Hôtel de Ville Département : 71 |  |
Coquemar 3-4 | Récipient à panse élargie, muni d’un col cintré et d'une lèvre parfois biseautée.
*Les trous de perforations sont dus à sa réutilisation en contexte funéraire. Datation : XIVe – 1e moitié XVe Lieu de découverte : Sens, rue Victor Guichard Département : 89 |  |
Coquemar 3-5 | Récipient ovoïde, muni d’une lèvre évasée et d’un fond plat à ombilic
interne. Datation : Fin XVIe Lieu de découverte : Sevrey, Port Guillot Département : 71 |  |
Coquemar 4 | Récipient globulaire ou à panse élargie, à large embouchure et muni d’une anse élancée. |
Coquemar 4-1 | Récipient globulaire, muni d’une lèvre évasée et d’une base débordante. Datation : 1e moitié XVIIe Lieu de découverte : Chalon-sur-Saône, couvent des Visitandines Département : 71 |  |
Coquemar 4-2 | Récipient à panse élargie, muni d’une lèvre curviligne et d’une base débordante. Datation : Fin XVIIe Lieu de découverte : Decize, Groupe scolaire Monnot Département : 58 |  |
Coquemar 4-3 | Récipient trapu, muni d’une lèvre éversée et d’une base
débordante. Datation : 2nd moitié XVIIe - Début XVIIIe Lieu de découverte : Dijon, rue Berlier Département : 21 |  |
Coquemar 5 | Récipient globulaire, à col cintré auquel se rattache l'anse élancée. |
Coquemar 5-1 | Récipient à maximum de panse bas, muni d’une lèvre arrondie. Le type
de fond reste hypothétique car aucune forme de ce type n’a été mis au
jour actuellement. Datation : 2nd moitié XIVe Lieu de découverte : Saint-Martin-du-Mont, Les Bordes – Bois de Cestres Département : 21 |  |
Coquemar 6 | Récipient globulaire, dont la caractéristique principale est de posséder un manche tubulaire. Il est
aussi appelé «pot à cuire». |
Coquemar 6-1 | Récipient globulaire, muni d’une lèvre éversée et d’un fond plat. Datation : Fin XVIe Lieu de découverte : Sevrey, Port Guillot Département : 71 |  |
Coquemar 7 | Récipient de forme générale variée, avec moyens de préhension et muni d’un
fond tripode. Il est aussi appelé « pot à cuire ». |
Coquemar 7-1 | Récipient à maximum de panse bas, muni d’une lèvre développée à
laquelle se rattache l’anse courte. Datation : XVIe Lieu de découverte : Autun, cloître Saint-Nazaire Département : 71 |  |
Coquemar 7-2 | Récipient globulaire, muni d'une lèvre développée et d’un manche tubulaire. Datation : 2nd moitié XVIIe-XVIIIe Lieu de découverte : Chalon-sur-Saône, couvent des Visitandines Département : 71 |  |
Coquemar 7-3 | Récipient à maximum de panse bas muni à la fois d’une
anse courte rattachée à la lèvre et d’un manche tubulaire. Datation : Fin XVIIe – XVIIIe Lieu de découverte : Dijon, rue Berlier Département : 21 |  |
Coquemar 7-4 | Récipient de forme basse, muni d’une lèvre à gorge interne et d’une anse
latérale. Datation : XVIe Lieu de découverte : Autun, cloître Saint-Nazaire Département : 71 |  |
Cruche | Récipient à liquides qui se distingue du pichet par une panse large, un col le plus souvent peu
développé, une à trois anses, et un bec tubulaire, pincé ou ponté. Sa
contenance est en général plus importante que celle du pichet, sauf pour
les formes ostentatoires très décorées. |
Cruche 1 | Récipient globulaire, muni d’un bec tubulaire tangent à la lèvre et d’une
anse opposée au bec. |
Cruche 1-1 | Récipient globulaire ou à panse élargie, sans col, muni d’une lèvre évasée à
gorge interne. Le fond peut être de tout type (lenticulaire, bombé ou plat).
*L’exemplaire illustré est un raté de cuisson. Datation : XIIe-XIVe Lieu de découverte : Sevrey, rue Augustin Champion Département : 71 |  |
Cruche 1-2 | Récipient globulaire à col plus ou moins long, muni d’une lèvre en bandeau. Le fond peut être de tout type (lenticulaire, bombé ou plat). Datation : XIVe-XVe Lieu de découverte : Tracy sur Loire, atelier des « Poteries » Département : 58 |  |
Cruche 1-3 | Récipient à panse élargie et col concave, muni d’une lèvre rentrante
et d’un fond lenticulaire à bombé. Datation : 2nd moitié XIIIe Lieu de découverte : Decize, Groupe scolaire Monnot Département : 58 |  |
Cruche 1-4 (Cruche 1-3, cruche 1c Centre-Ouest) | Récipient globulaire dont la caractéristique principale est d'être muni d'un bec tubulaire tréflé. Datation : 8e - 9e s. Lieu de découverte : Tours (37) |  |
Cruche 2 | Récipient de forme générale variée, muni d’un bec tubulaire sur le haut de l’épaule, détaché de la
lèvre, et de deux anses latérales. |
Cruche 2-1 | Récipient globulaire, muni de deux anses latérales pleines et d’un fond
lenticulaire. Datation : XIVe Lieu de découverte : Saint-Julien-du-Sault, atelier de céramiques médiéval Département : 89 |  |
Cruche 2-2 | Récipient globulaire à col cintré, muni d’une base débordante.
L’existence d’anses latérales reste hypothétique car aucune forme
complète de ce type n’a été mis au jour actuellement. Datation : Fin XIIIe - Début XIVe Lieu de découverte : Ahuy, Devant la Ferme Département : 21 |  |
Cruche 2-3 | Récipient globulaire embouchure étroite, muni de deux anses latérales
creuses. Le type de fond reste hypothétique car aucune forme complète de ce type n'a été mis au jour. Datation : Fin XIIIe – Début XIVe Lieu de découverte : Ahuy, Devant la Ferme Département : 21 |  |
Cruche 2-4 | Récipient avec les mêmes caractéristiques générales que la cruche 2-3 mais de forme cylindrique. Datation : XIVe Lieu de découverte : Saint-Martin-du-Mont, Les Bordes - Bois de Cestres Département : 21 |  |
Cruche 2-5 | Récipient globulaire, muni à la fois de deux anses latérales et d’une anse-panier.
Le fond est plat ou à base débordante. Datation : Fin XVIIe Lieu de découverte : Decize, Groupe scolaire Monnot Département : 58 |  |
Cruche 3 | Récipient globulaire, muni d’une seule anse latérale opposé au
bec tubulaire. |
Cruche 3-1 | Récipient globulaire à petit col, muni d’une lèvre à rectangulaire et d’une base débordante. L’existence d’un bec tubulaire est assurée
par analogie avec de nombreux autres fragments. Datation : Fin XIIIe – Début XIVe Lieu de découverte : Saint-Martin-du-Mont, Cestres - La Vie aux Maires Département : 21 |  |
Cruche 4 (3 Centre-Ouest) | Récipient globulaire ou à panse élargie, muni d’un bec ponté et d’une anse à l’opposé du bec ou de
deux anses latérales. |
Cruche 4-1 (Cruche 3-3, cruche 3c Centre-Ouest) | Récipient globulaire avec ou sans col, muni d’une lèvre évasée à gorge interne plus ou moins prononcée.
Les fonds associés sont lenticulaires ou bombés. Datation : Xe - XIIe Lieu de découverte : Tournus, ancienne abbaye Saint-Philibert Département : 71 |  |
Cruche 4-2 | Récipient présentant les mêmes caractéristiques principales que la
cruche 4-1 mais dont le diamètre du fond
est proche de celui du maximum de panse. Datation : XIIIe - XIVe Lieu de découverte : Marly-sur-Arroux, château de Montchatel Département : 71 |  |
Cruche 4-3 | Récipient à panse élargie, sans col, muni d’une lèvre évasée sans gorge interne et
d’un fond bombé. Datation : XIe - XIIe Lieu de découverte : Tournus, ancienne abbaye Saint-Philibert Département : 71 |  |
Cruche 4-4 (Cruche 3-1, cruche 3a Centre-Ouest) | Récipient globulaire avec un col court et une embouchure étroite, muni d'une lèvre déjetée. |  |
Cruche 4-5 (Cruche 3-2, cruche 3b Centre-Ouest) | Récipient muni d'une collerette avec une anse verticale opposée au bec. |  |
Cruche 5 | Récipient globulaire, muni d’un col semblable à un goulot. Il est aussi appelé
« cruchon ». |
Cruche 5-1 | Récipient globulaire, muni d’un goulot agrémenté d’un bec pincé, et d’une base débordante. Datation : Fin XVIIe Lieu de découverte : Decize, Groupe scolaire Monnot Département : 58 |  |
Gobelet | Récipient de forme haute, généralement de petite taille et destiné à la consommation de boissons. |
Gobelet 1 | Récipient de forme diverse, muni de moyens de suspension. |
Gobelet 1-1 | Récipient à maximum de panse bas, muni de
deux anses sommitales perforées se rattachant à la lèvre. Datation : XIVe – XVIe Lieu de découverte : Sevrey, rue Georges Brusson Département : 71 |  |
Gourde | Récipient généralement de petite taille, dont l’embouchure correspond à un goulot et non
systématiquement muni d’une base. |
Gourde 1 | Récipient muni d’un goulot étroit, sans moyens de préhension. La forme générale reste
hypothétique car aucune forme complète de ce type n’a été mis au jour actuellement. |
Gourde 1-1 | Récipient ovoïde, muni d’un goulot étroit. Datation : XIVe Lieu de découverte : Saint-Martin-du-Mont, Cestres - La Vie aux Maires Département : 21 |  |
Gourde 2 (Gourde 5 Centre-Ouest) | Récipient à base aplatie, muni d’un goulot étroit et d’une deux anses attenantes. |
Gourde 2-1 | Récipient ovoïde, muni de deux anses coudées perforées attenantes au goulot. Datation : XVIe Lieu de découverte : Dijon, place de la République Département : 21 |  |
Marmite | Récipient de taille variable, avec ou sans col, dont la caractéristique principale est de
posséder deux anses opposées le plus souvent rattachées à la lèvre. |
Marmite 1 | Récipient globulaire ou à panse élargie, muni d’anses latérales courtes se rattachant à la lèvre. La
panse peut être agrémentée de bandes rapportées, parfois digitées. |
Marmite 1-1 | Récipient globulaire, à petit col et muni d’une lèvre évasée. Le fond peut être de tout type
(lenticulaire, bombé ou plat). Datation : XVIe - XVIIe Lieu de découverte : Crissey, Rue principale Département : 71 |  |
Marmite 1-2 | Récipient globulaire, sans col, muni d’une large lèvre évasée. Le type de fond reste
hypothétique car aucune forme complète de ce type n’a été mis au jour actuellement. Datation : 1er quart XVe Lieu de découverte : Autun, rues Saint-Antoine et Lauchien le Boucher Département : 71 |  |
Marmite 2 | Récipient globulaire ou à panse élargie, muni d’anses élancées se rattachant à la lèvre.
La panse peut comporter des séries de cannelures. Le type de fond reste hypothétique car aucune
forme complète de ce type n’a été mise au jour actuellement. |
Marmite 2-1 | Récipient à panse élargie, à col cintré et muni d’une lèvre triangulaire ou à méplat. Datation : 2nd moitié XIIIe - Début XVe Lieu de découverte : Cluny, Maison des Dragons Département : 71 |  |
Marmite 2-2 | Récipient globulaire ou à panse élargie, à col
cintré et muni d’une lèvre à inflexion, voire d'une gorge interne. Datation : 1e moitié du XVIe Lieu de découverte : Mâcon, Couvent de la Visitation Département : 71 |  |
Marmite 2-3 | Récipient globulaire ou à panse élargie, à col vertical et muni d’une lèvre à méplat saillante. Datation : 2nd moitié XIIIe - Début XVe Lieu de découverte : Cluny, Maison des Dragons Département : 71 |  |
Marmite 3 | Récipient de forme générale « en S », à panse très élargie, muni d’anses courtes et d’un fond
lenticulaire voire bombé. Les variations typologiques s’observent
surtout au niveau des anses. |
Marmite 3-1 | Récipient « en S » muni d’anses cannelées. Datation : Fin XIIIe – Début XIVe Lieu de découverte : Ahuy, Devant la Ferme Département : 21 |  |
Marmite 3-2 | Récipient « en S » muni d’anses bifides.
Datation : XIVe Lieu de découverte : Saint-Martin-du-Mont, Cestres - La Vie aux Maires Département : 21 |  |
Marmite 3-3 | Récipient « en S » muni d’anses rondes. Datation : Fin XIIIe – Début XIVe Lieu de découverte : Ahuy, Devant la Ferme Département : 21 |  |
Marmite 4 | Récipient qui se caractérise par la présence d’anses
coudées rattachées à la lèvre. La panse peut comporter des bandes digitées et la liaison entre le col
et la panse d’un ressaut. Le fond peut être de tout type (lenticulaire, bombé, plat ou à base débordante). |
Marmite 4-1 | Récipient globulaire à col cintré, muni d’une lèvre triangulaire ou à
méplat. Datation : Fin XIVe - XVIe Lieu de découverte : Sevrey, Port Guillot Département : 71 |  |
Marmite 4-2 | Récipient globulaire à col cintré et concave, muni d’une lèvre arrondie. Datation : XVIe - XVIIe Lieu de découverte : Crissey, Rue principale Département : 71 |  |
Marmite 4-3 | Récipient à panse élargie et à col cintré, dont la caractéristique principale est que l'anse soit
marquée d’un poinçon (origine Sevrey). Datation : XVIe – Début XVIIe Lieu de découverte : Dijon, rue Berlier Département : 21 |  |
Marmite 4-4 | Récipient globulaire à col vertical, muni d’une lèvre évasée. Datation : Fin XIVe - XVIe Lieu de découverte : Sevrey, Port Guillot Département : 71 |  |
Marmite 4-5 | Récipient caréné muni d’un col vertical et d’une lèvre triangulaire ou à
méplat. Datation : Fin XVe – Début XVIe Lieu de découverte : Mâcon, rues de Veyle et Sirène Département : 71 |  |
Marmite 4-6 | Récipient globulaire à col cintré, dont la caractéristique principale est de posséder quatre anses coudées, pouvant être marquées d'un poinçon (origine Sevrey). Datation : Fin XIVe - XVIe Lieu de découverte : Sevrey, Port Guillot Département : 71 |  |
Pichet | Récipient à liquides le plus souvent de forme allongée, muni d’un col plus ou moins marqué, d’une
anse verticale et pouvant comporter un bec pincé. Certains pichets font l’objet d’une
ornementation soignée à l’aide de glaçures et de décors rapportés. |
Pichet 1 | Récipient généralement ovoïde, muni d’un grand col cintré ou vertical et d’un
fond sur pied. |
Pichet 1-1 | Récipient ovoïde à col cintré auquel se rattache l'anse et muni d'une lèvre triangulaire ou à méplat. Datation : XIIIe - XIVe Lieu de découverte : Marly-sur-Arroux, château de Montchatel Département : 71 |  |
Pichet 1-2 | Récipient ovoïde, à col cintré le plus souvent cannelé auquel se rattache l’anse,
et muni d’une lèvre à inflexion pouvant être agrémentée d’un bec pincé. Datation : 2nd moitié XIIIe Lieu de découverte : Decize, Groupe scolaire Monnot Département : 58 |  |
Pichet 1-3 | Récipient avec les mêmes caractéristiques générales que le pichet 1-2 mais muni
d’une lèvre arrondie dans le prolongement du col. Datation : Fin XVIIe Lieu de découverte : Decize, Groupe scolaire Monnot Département : 58 |  |
Pichet 1-4 | Récipient ovoïde à grand col vertical auquel se rattache l’anse, et muni d’une
lèvre en bandeau rentrante. Datation : Fin XIIIe - XIVe Lieu de découverte : Ahuy, Devant la Ferme Département : 21 |  |
Pichet 2 | Récipient ovoïde à très grand col légèrement cintré et muni d’une base
débordante. |
Pichet 2-1 | Récipient ovoïde, à très grand col légèrement cintré auquel se rattache l’anse
et muni d’une lèvre triangulaire pouvant être à inflexion. Datation : XIVe Lieu de découverte : Dracy, village médiéval Département : 89 |  |
Pichet 2-2 | Récipient avec les mêmes caractéristiques générales que le pichet 2-1 mais
dont la liaison entre le col et la panse est plus marquée. Datation : XIVe Lieu de découverte : Dixmont, atelier de céramiques médiéval Département : 89 |  |
Pichet 3 | Récipient ovoïde à grand col cintré, muni d’une base débordante et qui se caractérise par une anse
perforée. |
Pichet 3-1 | Récipient ovoïde à grand col cintré, muni d’une lèvre en bandeau saillant
à laquelle se rattache l’anse. La panse peut être
décorée de bandes digitées. Datation : XVIe Lieu de découverte : Autun, cloître Saint-Nazaire Département : 71 |  |
Pichet 4 | Récipient muni d’un col et d’une embouchure particulièrement développés à
l’inverse du fond qui est très étroit. |
Pichet 4-1 | Récipient à col très développé, auquel se rattache l’anse, et muni d’une lèvre
triangulaire ou à méplat pouvant être agrémentée d’un bec pincé. Datation : 2nd moitié XIIIe Lieu de découverte : Decize, Groupe scolaire Monnot Département : 58 |  |
Pichet 5 | Récipient piriforme, à très grand col et muni d’un fond plat ou à base débordante. |
Pichet 5-1 | Récipient à embouchure très étroite agrémentée d’un bec pincé et muni d’une base légèrement débordante. La présence d’une anse reste hypothétique car aucune forme complète de ce type n'a été mise au jour actuellement. Datation : Fin XVe Lieu de découverte : Dijon, place de la République Département : 21 |  |
Pichet 6 | Récipient caréné à col cintré et muni d'un fond plat ou à base débordante. |
Pichet 6-1 | Récipient caréné à col cintré, muni d'une lèvre dans le prolongement du col à laquelle se rattache l'anse. Datation : 2nd moitié XIIIe Lieu de découverte : Tournus, quai du Midi Département : 71 |  |
Pichet 7 | Récipient quasi cylindrique à grand col vertical. Le diamètre du fond est proche du diamètre
maximum de panse. |
Pichet 7-1 | Récipient à grand col vertical auquel se rattache l’anse, muni d’une lèvre en
bandeau agrémentée d’un bec pincé. Datation : 2nd moitié XVIIe Lieu de découverte : Cosne-sur-Loire, Terrasses du Nohain Département : 58 |  |
Pichet 8 | Récipient globulaire ou ovoïde à col plus ou moins développé, qui se
caractérise par un fond sur podes. |
Pichet 8-1 | Récipient globulaire, à grand col cintré et muni d’une lèvre évasée
sur laquelle se rattache l’anse. La panse et l'anse peuvent être décorées de bandes
rapportées et/ou digitées. Datation : XVIe-XVIIe Lieu de découverte : Chalon-sur-Saône, Hôtel de Ville Département : 71 |  |
Pichet 8-2 | Récipient ovoïde, à col évasé et muni d’une lèvre à méplat à
laquelle se rattache l’anse. Datation : XIVe Lieu de découverte : Ahuy, Devant la Ferme Département : 21 |  |
Pichet 9 | Récipient avec les mêmes caractéristiques principales que le pichet 8-2 mais dépourvu de podes
et pouvant être muni d’un bec verseur. |
Pichet 9-1 | Récipient ovoïde, à col cintré ou évasé auquel se rattache l'anse, muni d’une lèvre à méplat et d'un fond plat. Datation : 2nd moitié XIVe - XVe siècles Lieu de découverte : Dijon, rue Berlier Département : 21 |  |
Pichet 10 | Récipient dont la forme générale est en "S" et dont la lèvre est épaissie ; parfois avec un bec tiré plus ou moins important. |
Pichet 10-1 | Récipient de forme générale en "S" muni d'une lèvre en bandeau et d'un fond plat ou à base débordante. Datation : XVIe Lieu de découverte : Sevrey, Port Guillot Département : 71 |  |
Pichet 10-7 (Pichet 10g Centre-Ouest) | Récipients de forme générale en "S" mais avec une base, non marquée, massive, dans le prolongement de la panse. Datation : 7-8e s. Lieu de découverte : Limoges |  |
Pichet 11 | Récipient globulaire à grand col cannelé légèrement cintré ou vertical, et muni d’un fond plat ou à base
débordante. |
Pichet 11-1 | Récipient globulaire à grand col légèrement cintré auquel se rattache l’anse, muni d’une lèvre à
méplat. Datation : 2nd moitié XIIIe Lieu de découverte : Mesvres, ancien prieuré Saint-Martin Département : 71 |  |
Pichet 11-2 | Récipient globulaire à grand col vertical, muni d’une lèvre dans le
prolongement de la panse pouvant être à inflexion et à laquelle se rattache
l’anse. Datation : 2nd moitié XIIIe – Début XIVe Lieu de découverte : Tournus, ancienne abbaye Saint-Philibert Département : 71 |  |
Pichet 12 | Récipient globulaire à col évasé ou vertical plus ou moins développé, et muni d’un fond
plat. |
Pichet 12-1 | Récipient globulaire à col évasé auquel se rattache l’anse, et muni d’une lèvre
triangulaire ou à méplat. Datation : XIIIe - XIVe Lieu de découverte : Marly-sur-Arroux, château de Montchatel Département : 71 |  |
Pichet 12-2 | Récipient globulaire à col vertical auquel se rattache l’anse, et muni d’une
lèvre évasée. Datation : XIIIe - XIVe Lieu de découverte : Marly-sur-Arroux, château de Montchatel Département : 71 |  |
Pichet 13 | Récipient globulaire ou à panse élargie, à grand col concave et muni d’une base débordante. |
Pichet 13-1 | Récipient globulaire à grand col concave auquel se rattache l’anse, et muni
d’une lèvre épaisse. Datation : XIIIe Lieu de découverte : Cosne-sur-Loire, Terrasses du Nohain Département : 58 |  |
Pichet 13-2 | Récipient à panse élargie à grand col concave auquel se rattache l’anse, et muni d’une
lèvre dans le prolongement de la panse, agrémentée d’un bec pincé. Datation : Fin XVIe Lieu de découverte : Decize, Groupe scolaire Monnot Département : 58 |  |
Pichet 14 | Récipient globulaire ou à panse élargie, muni d’un petit col agrémentée d’un bec pincé auquel se
rattache l’anse ronde et d’un fond légèrement débordant. La panse fait généralement l’objet de
décors rapportés. |
Pichet 14-1 | Récipient globulaire, muni d’un petit col et d’une lèvre en bandeau à laquelle
se rattache l’anse. Datation : Fin XIIIe – Début XIVe Lieu de découverte : Saint-Martin-du-Mont, Cestres - La Vie aux Maires Département : 21 |  |
Pichet 14-2 | Récipient à panse élargie muni d’une large lèvre en bandeau à inexion
interne à laquelle se rattache l’anse. Le fond reste hypothétique dans la
mesure où aucune forme complète de ce type n’a été mise au jour. Datation : 2nd moitié XIIIe Lieu de découverte : Saint-Martin-du-Mont, Cestres - La Vie aux Maires Département : 21 |  |
Pichet 15 | Récipient à panse élargie, à grand col cintré voire tronconique et muni d’une base débordante. |
Pichet 15-1 | Récipient à panse élargie, à grand col cintré pouvant être cannelé auquel se rattache l’anse, et muni d’une
lèvre dans le prolongement du col pouvant être à inflexion. Datation : Fin XIVe - XVe Lieu de découverte : Tournus, ancienne abbaye St Philibert Département : 71 |  |
Pichet 15-2 | Récipient avec les mêmes caractéristiques générales que le pichet 15-1 mais dont le col est
nettement tronconique. Datation : XIIIe - XIVe Lieu de découverte : Marly-sur-Arroux, château de Montchatel Département : 71 |  |
Pichet 16 | Récipient à panse élargie, à grand col évasé ou vertical et muni d’une base débordante. |
Pichet 16-1 | Récipient à grand col vertical auquel se rattache l’anse, et muni d’une lèvre à méplat. Datation : Fin XVIe Lieu de découverte : Decize, Groupe scolaire Monnot Département : 58 |  |
Pichet 16-2 | Récipient à panse élargie, à grand col évasé, et muni d’une lèvre à inflexion à
laquelle se rattache l’anse. La panse peut être décorée d’éléments rapportés. Datation : Fin XIIIe – Début XIVe Lieu de découverte : Autun, cloître Saint-Nazaire Département : 71 |  |
Pot | Récipient généralement dépourvu de moyens de préhension. La taille est très variable mais le diamètre d'embouchure est proche du diamètre maximum de la panse. |
Pot 1 | Récipient globulaire ou à panse élargie, avec ou sans col, muni d’une lèvre évasée. |
Pot 1-1 | Récipient globulaire ou à panse élargie, muni d’une lèvre évasée à gorge interne et d’un fond
bombé ou lenticulaire. Datation : XIIIe - XIVe Lieu de découverte : Verneuil et Charrin, parc solaire Département : 58 |  |
Pot 1-2 | Récipient globulaire ou à panse élargie, muni d’une lèvre évasée dont la face interne ne marque
aucune rupture avec la panse, et d’un fond qui peut être de tout type (lenticulaire, bombé, plat ou
à base débordante). Datation : XVIe-XVIIe Lieu de découverte : Chalon-sur-Saône, Hôtel de Ville Département : 71 |  |
Pot 1-3 | Récipient avec les mêmes caractéristiques principales que le pot 1-2 mais avec une nette rupture au niveau du col. Datation : 2nd moitié XIIIe Lieu de découverte : Decize, Groupe scolaire Monnot Département : 58 |  |
Pot 1-4 (Pot 2-25, 2y Centre-Ouest) | Récipient à maximum de panse bas, muni d’une lèvre évasée
et d’un fond très étroit. Datation : Xe - XIIe Lieu de découverte : Nevers, abbaye Saint-Genest Département : 58 |  |
Pot 1-5 (Pot 2-1, 2a Centre-Ouest) | Récipient globulaire avec une panse développée et un col pratiquement inexistant. Il est muni d'un rebord à inflexion externe plus ou moins rectangulaire et parfois d'une légère gorge sommitale. (forme plutôt du haut Moyen-Age). Datation : fin 5e - début 11e s. Lieu de découverte : Angers (49) |  |
Pot 2 | Récipient globulaire, généralement sans col, muni d'une lèvre en bandeau. La variabilité des types se distingue surtout au niveau du bandeau. Il est aussi appelé "oule". |
Pot 2-1 (Pot 2-2, 2b Centre-Ouest) | Récipient globulaire muni d'une lèvre en bandeau plus ou moins développée, avec ou sans gorge interne, et d'un fond lenticulaire à bombé. Datation : 2nd moitié XIIIe - Début XVe Lieu de découverte : Cluny, Maison des Dragons Département : 71 |  |
Pot 2-2 | Récipient globulaire muni d’une lèvre en bandeau évasé, et d’un fond
bombé. Datation : XIVe Lieu de découverte : Dracy, village médiéval Département : 89 |  |
Pot 2-3 | Récipient globulaire muni d’une lèvre en bandeau développé, dont l’extrémité est
épaissie. Le fond est bombé ou à base débordante. Datation : XIVe Lieu de découverte : Saint-Julien-du-Sault, atelier de céramiques médiéval Département : 89 |  |
Pot 2-4 (Pot 2-12, pot 2l Centre-Ouest) | Récipient avec une lèvre dont la face interne ne marque aucune rupture avec la panse - si ce n’est une légère concavité - et dont la face externe est de section triangulaire, à parement infléchi. (forme plutôt du haut Moyen-Age) Datation : 6-7e s. Lieu de découverte : Tours |  |
Pot 3 | Récipient globulaire ou à panse élargie, muni d’un petit col et d’une lèvre triangulaire saillante. |
Pot 3-1 | Récipient à panse élargie, parfois muni d’un petit col marqué d’un ressaut.
Le fond reste hypothétique car aucune forme complète de ce type n’a été
mis au jour actuellement. Datation : XVIe - XVIIe Lieu de découverte : Chalon-sur-Saône, Hôtel de Ville Département : 71 |  |
Pot 3-2 | Récipient globulaire, muni d’un petit col évasé et d’une lèvre
triangulaire épaisse. Le fond reste hypothétique car aucune
forme complète de ce type n’a été mis au jour actuellement. Datation : 2nd moitié XIVe Lieu de découverte : Saint-Martin-du-Mont, Les Bordes - Bois de Cestres Département : 21 |  |
Pot 4 | Récipient globulaire ou à panse élargie, muni d’un petit col et d’une lèvre à méplat horizontal ou
incliné. |
Pot 4-1 | Récipient globulaire, muni d’une lèvre à méplat horizontale dans la continuité du col et d’un fond lenticulaire à bombé. Datation : 2nd moitié XIIIe - Début XVe Lieu de découverte : Cluny, Maison des Dragons Département : 71 |  |
Pot 4-2 | Récipient à panse élargie, muni d’une épaisse lèvre à méplat horizontale et saillante. Le type de fond reste
hypothétique car aucune forme complète de ce type n’a été mis au jour
actuellement. Datation : 2nd moitié XIIIe - Début XVe Lieu de découverte : Cluny, Maison des Dragons Département : 71 |  |
Pot 4-3 | Récipient globulaire, muni d’une lèvre à méplat inclinée et d’une base débordante. Datation : Début XIVe Lieu de découverte : Saint-Martin-du-Mont, Cestres - La Vie aux Maires Département : 21 |  |
Pot 5 | Récipient globulaire ou à panse élargie, muni d’une lèvre curviligne. |
Pot 5-1 | Récipient globulaire, muni d’une lèvre curviligne parfois à méplat et d’un fond bombé. Datation : Fin XIVe - XVIe Lieu de découverte : Sevrey, Port Guillot Département : 71 |  |
Pot 5-2 | Récipient à panse élargie, sans col, muni d’une lèvre curviligne à méplat et
d’une base débordante. Datation : Fin XIVe - XVIe Lieu de découverte : Sevrey, Port Guillot Département : 71 |  |
Pot 5-3 | Récipient à maximum de panse bas, muni d’une lèvre curviligne et d’un
fond bombé. Datation : 2nd moitié XIIIe Lieu de découverte : Decize, Groupe scolaire Monnot Département : 58 |  |
Pot 6 | Récipient globulaire dont la caractéristique principale est d’être muni d’une lèvre à collerette. |
Pot 6-1 | Récipient trapu, muni d’une collerette et d’une base débordante. Datation : XIIIe Lieu de découverte : Cosne-sur-Loire, place Pasteur Département : 58 |  |
Pot 6-2 | Récipient globulaire à embouchure étroite, muni d’une collerette et
d’un fond lenticulaire à plat. Datation : XIIIe Lieu de découverte : Tracy sur Loire, atelier des « Poteries » Département : 58 |  |
Pot 7 | Récipient globulaire, dont la caractéristique principale est d’être muni d’un système verseur. |
Pot 7-1 | Récipient globulaire, muni d’une lèvre quadrilobée et d’un fond lenticulaire. Datation : Fin XIVe - XVIe Lieu de découverte : Sevrey, Port Guillot Département : 71 |  |
Pot 8 (Pot 17 Centre-Ouest) | Récipient de forme générale variée, muni d’un système de préhension original. |
Pot 8-1 (17-2, 17b Centre-Ouest) | Récipient généralement globulaire, muni d’une anse-panier. Datation : XIVe - XVe Lieu de découverte : Tracy sur Loire, atelier des « Poteries » Département : 58 |  |
Pot 9 | Récipient ovoïde ou globulaire, muni d'un petit col et d'une lèvre épaisse saillante. (forme plutôt du haut Moyen-Age) |
Pot 9-1 (Pot 2-16, 2p) | Récipient à panse ovoïde ou globulaire, à col droit et muni d’une lèvre en baguette peu débordante. Datation : 5e-6e s. Lieu de découverte : Tours (37) |  |
Pot 10 (19 Centre-Ouest) | Récipient caréné. (forme plutôt du haut Moyen-Age) |
Pot 10-1 (19-1 Centre-Ouest) | Récipient, pot biconique à lèvre droite ou en crosse. Il est parfois également nommé gobelet biconique. Datation : 5b - 8b Lieu de découverte : Tours (37) |  |
Pot à conserve | Récipient généralement de forme fermée et plus rarement ouverte, de plus petites dimensions que les pots de
stockage et destiné à la conservation de denrées diverses. |
Pot à conserve 1 | Récipient de forme haute, sans moyens de préhension. |
Pot à conserve 1-1 | Récipient ovoïde, muni d’une lèvre à gorge interne parfois infléchie et d’une base
légèrement débordante. Datation : XVIIe - XVIIIe Lieu de découverte : Autun, rues St Antoine et Lauchien le Boucher Département : 71 |  |
Pot à conserve 2 | Récipient de forme haute, avec moyens de préhension. |
Pot à conserve 2-1 | Récipient ovoïde, muni d’une lèvre à morphologie variable et d’un fond étroit. L’existence d’une
anse latérale est assurée par analogie avec de nombreux autres fragments. Datation : 2nd moitié XIVe - XVe Lieu de découverte : Dijon, boulevard de la Trémouille Département : 21 |  |
Pot à conserve 2-2 | Récipient caréné muni d’une lèvre épaisse, de deux anses latérales et d'un fond plat. Datation : 1e moitié XVIIe Lieu de découverte : Chalon-sur-Saône, couvent des Visitandines Département : 71 |  |
Pot à conserve 3 | Récipient de forme basse, sans moyens de préhension. |
Pot à conserve 3-1 | Récipient caréné muni d’une lèvre généralement éversée et d’un fond plat. Datation : 1e moitié XVIIe Lieu de découverte : Chalon-sur-Saône, couvent des Visitandines Département : 71 |  |
Pot de stockage | Récipient de grande contenance, avec ou sans moyens de préhensions, souvent renforcé de
bandes digitées sur ses parois. |
Pot de stockage 1 | Récipient globulaire ou à panse élargie aux cols peu développés voire inexistants, muni d'une ou de deux anses latérales. |
Pot de stockage 1-1 | Récipient globulaire, à petit col, muni d'une lèvre épaisse et d’un fond plat. Datation : XIVe Lieu de découverte : Dixmont, atelier de céramiques médiéval Département : 89 |  |
Pot de stockage 1-2 | Récipient à panse élargie, sans col, muni d'une lèvre épaisse à gorge interne et d’un fond bombé. Datation : XVe - XVIe Lieu de découverte : Cluny, abbaye, infirmerie Département : 71 |  |
Pot de stockage 1-3 | Récipient à maximum de panse haut, muni d’une lèvre rentrante et d’un fond plat ou débordant. Il est aussi appelé « saloir ». Datation : Fin XVIIe Lieu de découverte : Decize, Groupe scolaire Monnot Département : 58 |  |
Pot de chambre | Récipient à large embouchure, dont la lèvre est supposée former une large assise. |
Pot de chambre 1 | Récipient globulaire, dont la caractéristique principale est de posséder une anse verticale de type poucier. |
Pot de chambre 1-1 | Récipient globulaire, muni d’une lèvre éversée et d’une base
débordante. Datation : 2nd moitié XVIIe Lieu de découverte : Chalon-sur-Saône, couvent des Visitandines Département : 71 |  |
Formes ouvertes | Le récipient est de forme ouverte lorsque le diamètre de l'embouchure est supérieur à la hauteur générale du vase. |
Assiette | Récipient qui possède un diamètre d’embouchure très large ; sa forme générale est donc très
évasée. |
Assiette 1 | Récipient creux, muni d’un marli et d’un fond plat ou d'une base débordante. |
Assiette 1-1 | Récipient muni d’un marli horizontal ou incliné et d’une base débordante. Datation : 2nd moitié XVIIe Lieu de découverte : Chalon-sur-Saône, couvent des Visitandines Département : 71 |  |
Assiette 1-2 | Récipient muni d’un marli évasé ou infléchi et d’un fond plat. Datation : XVIe Lieu de découverte : Autun, cloître Saint-Nazaire Département : 71 |  |
Assiette 1-3 | Récipient muni d’un très large marli évasé ou infléchi. Datation : XVIIe Lieu de découverte : Ahuy, Devant la Ferme Département : 21 |  |
Assiette 2 | Récipient dont le bassin est peu profond, muni d’un marli et d’un fond plat ou d'une base débordante. |
Assiette 2-1 | Récipient plat muni d’un marli souvent infléchi et d’une base débordante. Datation : XVIIe-XVIIIe Lieu de découverte : Dijon, Hôpital Général Département : 21 |  |
Assiette 2-2 | Récipient plat muni d’un très large marli évasé et d’une base débordante. Datation : XVIIe Lieu de découverte : Ahuy, Devant la Ferme Département : 21 |  |
Bassin(e) | Récipient creux de grande taille, avec ou sans
moyens de préhension. |
Bassin(e) 1 | Récipient hémisphérique, sans moyens de préhension et muni d’une lèvre épaisse. La panse
comporte souvent des bandes digitées de renforcement. |
Bassin(e) 1-1 (vase-réserve n°2 Centre-Ouest ?) | Récipient hémisphérique, muni d’une lèvre en bandeau à gorge interne. Le type de fond reste
hypothétique car aucune forme complète de ce type n’a été mis au jour actuellement. Datation : Xe - XIIe Lieu de découverte : Nevers, abbaye St Genest Département : 58 | 1-1.png?r=520345456) |
Bassin(e) 1-2 | Récipient caréné parfois souligné par une bande digitée et muni d’une lèvre à gorge interne. La panse peut comporter des décors ondés. Le type de fond reste hypothétique
car aucune forme complète de ce type n’a été mis au jour actuellement. Datation : 1e moitié XVIe Lieu de découverte : Mâcon, Couvent de la Visitation Département : 71 | 1-2.png?r=1958778637) |
Bassin(e) 2 | Récipient hémisphérique, sans moyens de préhension, et muni d’une lèvre à marli. Le type de fond
reste hypothétique car aucune forme complète de ce type n’a été mis au jour actuellement. |
Bassin(e) 2-1 | Récipient hémisphérique, pouvant être légèrement caréné et muni d’une lèvre à marli horizontale. Datation : XVIIe Lieu de découverte : Mâcon, Couvent de la Visitation Département : 71 | 2-1.png?r=1441518316) |
Bassin(e) 2-2 | Récipient hémisphérique, muni d’une lèvre à très large marli. Datation : XVIIe Lieu de découverte : Ahuy, Devant la Ferme Département : 21 | 2-2.png?r=2117308231) |
Bassin(e) 3 | Récipient hémisphérique, sans moyens de préhension, muni d’une lèvre à gorge interne et d’un
fond plat ou à base débordante. |
Bassin(e) 3-1 | Récipient hémisphérique, muni d’une lèvre en bourrelet à gorge interne et d’un fond plat. Datation : 2e moitié XVIIe - Début XVIIIe Lieu de découverte : Dijon, rue Berlier Département : 21 | 3-1.png?r=259063697) |
Bassin(e) 4 | Récipient hémisphérique, muni de deux moyens de préhension latéraux. |
Bassin(e) 4-1 | Récipient hémisphérique, muni d’une lèvre à
marli à laquelle se rattachent deux anses
latérales, et d’un fond lenticulaire. Datation : 2nd moitié XIIIe Lieu de découverte : Decize, Groupe scolaire Monnot Département : 58 | 4-1.png?r=29705140) |
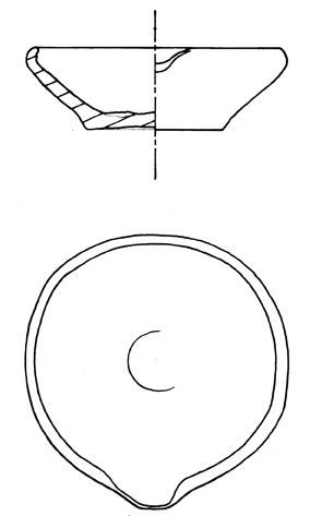
Bassin(e) 5 | Récipient hémisphérique muni d’une seule anse latérale courte. |
Bassin(e) 5-1 | Récipient hémisphérique, muni d’une lèvre dans le prolongement du bassin et d’une base débordante. Datation : XVIe Lieu de découverte : Cluny, abbaye, Grande Cour Intérieure Département : 71 | 5-1.png?r=168967770) |
Bassin(e) 5-2 | Récipient hémisphérique, muni d’une lèvre quadrangulaire
à laquelle se rattache l’anse, et d’un fond bombé. Datation : 2nd moitié XIIIe - Début XVe Lieu de découverte : Cluny, Maison des Dragons Département : 71 | 5-2.png?r=1684033052) |
Chauffe-plat | Récipient de taille variable, muni de moyens de préhensions et d’un pied creux parfois aménagé
pour envelopper une source de chaleur. |
Chauffe-plat 1 | Récipient caréné, muni d’un manche tubulaire. |
Chauffe-plat 1-1 | Récipient légèrement caréné, à tenons verticaux sur la lèvre. Datation : Fin XVIe Lieu de découverte : Sevrey, Port Guillot Département : 71 |  |
Chauffe-plat 1-2 | Récipient avec les mêmes caractéristiques générales que le chauffe-plat 1-1
mais dont le pied très massif comporte un ressaut. Datation : XVIIe – Début XVIIIe Lieu de découverte : Autun, rues St Antoine et Lauchien le Boucher Département : 71 |  |
Chauffe-plat 2 | Récipient caréné, muni d’une ou de deux anses latérales courtes. |
Chauffe-plat 2-1 | Récipient avec les mêmes caractéristiques générales que le chauffe-plat
1-1 mais muni de deux anses latérales. Datation : Fin XVIe Lieu de découverte : Sevrey, Port Guillot Département : 71 |  |
Chauffe-plat 2-2 | Récipient caréné, muni d’une seule anse latérale. Datation : Fin XVe – Début XVIe Lieu de découverte : Mâcon rues de Veyle et de Sirène Département : 71 |  |
Coupe/Bol | Récipient généralement de petite taille. Son ouverture est proche de deux fois sa hauteur totale. Pour plus de simplicité, on utilise ici le terme de coupe et non de bol pour tous les récipients. |
Coupe 1 | Récipient hémisphérique, sans moyens de préhension. Le type de fond reste
hypothétique car aucune forme complète de ce type n’a été mis au jour actuellement. |
Coupe 1-1 | Récipient hémisphérique dont la lèvre se confond avec la panse. Datation : XVIIe – Début XVIIIe Lieu de découverte : Autun, rues St Antoine et Lauchien le Boucher Département : 71 |  |
Coupe 1-2 | Récipient hémisphérique, muni d’une lèvre en bourrelet pouvant être soulignée d’un ressaut. Datation : XVIe-XVIIe Lieu de découverte : Crissey, Rue principale Département : 71 |  |
Coupe 2 | Récipient trapu, sans moyens de préhension et muni d’un fond plat. |
Coupe 2-1 | Récipient hémisphérique, muni d’une lèvre à marli. Datation : XVe Lieu de découverte : Dijon, place de la République Département : 21 |  |
Coupe 2-2 | Récipient tronconique, muni d’une lèvre triangulaire ou à méplat pouvant être cannelée. Datation : Milieu XVIe Lieu de découverte : Dijon, rue Berlier Département : 21 |  |
Coupe 3 | Récipient muni d'une carène haute, avec ou sans bec verseur. Le type de fond reste hypothétique
car aucune forme complète de ce type n’a été mis au jour actuellement.
|
Coupe 3-1 | Récipient légèrement caréné, muni d’une lèvre à inflexion interne pouvant être agrémentée d’un
bec verseur. Datation : XIVe Lieu de découverte : Saint-Martin-du-Mont, Cestres - La Vie aux Maires Département : 21 |  |
Coupe 4 (Coupe 6 Centre-Ouest) | Récipient muni d'une carène basse. |
Coupe 4-1 (coupe 6-8, 6h Centre-Ouest) | Récipient à lèvre déjetée s’apparentant à la coupe 6a mais la carène est presque absente. La partie supérieure de la panse est verticale ou rentrante. |  |
Coupe 5 (Coupe 8 Centre-Ouest) | Récipient muni d'une collerette et parfois d’un système verseur. |
Coupe 5-1 (coupe 8-3, 8c Centre-Ouest) | Récipient muni d'une lèvre rentrante et parfois d’un bec verseur. Datation : 8e-9e s. Lieu de découverte : Orléans (45) |  |
Coupe 6 (Coupe 14 Centre-Ouest) | Récipient hémisphérique sans collerette. |
Coupe 6-1 (Coupe 14-3, 14c Centre-Ouest) | Récipient muni d'une lèvre à inflexion bilatérale ou en « T ». Datation : 7e s. Lieu de découverte : Jublains (53) |  |
Coupe 6-2 (Coupe 14-3, coupe 14d Centre-Ouest) | Récipient muni d’une lèvre présentant un léger bourrelet interne. Datation : 9d-10d Lieu de découverte : Limoges (87) |  |
Ecuelle | Récipient creux possédant les mêmes caractéristiques générales que les coupes, mais
généralement de plus grandes dimensions et souvent muni de tenons de préhension appelés
« oreilles ». |
Ecuelle 1 | Récipient hémisphérique, muni d’une ou deux oreilles de préhension et d’une base débordante. |
Ecuelle 1-1 | Récipient hémisphérique, muni d’une lèvre dans le prolongement de la panse pouvant être rentrante
et de deux oreilles de préhension. Datation : XVIIe Lieu de découverte : Ahuy, Devant la Ferme Département : 21 |  |
Ecuelle 1-2 | Récipient trapu, muni d’une lèvre dans le prolongement de la panse et d’une seule
oreille de préhension. Datation : XVIe Lieu de découverte : Autun, cloître Saint-Nazaire Département : 71 |  |
Ecuelle 2 | Récipient caréné, muni d’une ou deux oreilles de préhension et d’un fond plat ou d'une base débordante.
|
Ecuelle 2-1 | Récipient caréné à panse hémisphérique, muni d’une lèvre dans le prolongement de la panse et de
deux oreilles de préhension. Datation : Fin XVIe-XVIIe Lieu de découverte : Dijon, clinique Sainte-Marthe Département : 21 |  |
Ecuelle 2-2 | Récipient caréné à panse tronconique, muni d’une lèvre dans le prolongement de la panse et de
deux oreilles de préhension. Datation : 2nd moitié XVIIe – Début XVIIIe Lieu de découverte : Dijon, rue Berlier Département : 21 |  |
Ecuelle 2-3 | Récipient caréné à panse tronconique, muni d’une lèvre épaisse et d’une seule oreille de
préhension. Datation : Début XVIIe Lieu de découverte : Aligny, Les Barillots Département : 58 |  |
Ecuelle 3 | Récipient caréné, dont la caractéristique principale est d’être dépourvu d’oreilles de préhensions. |
Ecuelle 3-1 | Récipient caréné à panse tronconique, muni généralement d’une lèvre en bandeau pouvant être à
inflexion interne. Le type de fond reste hypothétique car aucune forme complète de ce type n’a été
mise au jour actuellement. Datation : 2nd moitié XVIIe - XVIIIe Lieu de découverte : Dijon, rue Berlier Département : 21 |  |
Ecuelle 3-2 | Récipient caréné à panse tronconique, muni d'une lèvre dans le prolongement de la panse pouvant être rentrante. Le type de fond reste hypothétique car aucune forme complète de ce type n'a été mise au jour actuellement. Datation : 2nd moitié XVIIe - Début XVIIIe Lieu de découverte : Dijon, rue Berlier Département : 21 |  |
Egouttoir | Récipient de forme haute ou basse à embouchure large servant de support à un autre, avec ou
sans moyens de préhension. |
Egouttoir 1 | Récipient haut à très large embouchure tronconique, avec moyens de préhension. |
Egouttoir 1-1 | Récipient formé quasiment de deux troncs de cônes opposés, et muni d'une anse latérale. Datation : Fin XVIe Lieu de découverte : Sevrey, Port Guillot Département : 71 |  |
Faisselle | Récipient de forme haute ou basse et dont les parois sont perforées. |
Faisselle 1 | Récipient hémisphérique bas, sans moyens de préhension. |
Faisselle 1-1 | Récipient hémisphérique perforé, muni d'une lèvre à marli et d'un fond lenticulaire. Datation : Fin XVe - XVIIe Lieu de découverte : Sevrey, Les Tupiniers Département : 71 |  |
Faisselle 2 | Récipient cylindrique haut, sans moyens de préhension. |
Faisselle 2-1 | Récipient cylindrique perforé, muni d’une lèvre à marli et d’un fond plat. Datation : Fin XVIe Lieu de découverte : Sevrey, Port Guillot Département : 71 |  |
Jatte/Plat | Récipient, de forme générale évasée, avec ou sans moyens de préhension. Il se distingue du bassin par ses dimensions plus réduites et de la terrine par sa forme générale hémisphérique. Pour plus de simplicité, on utilise ici le terme de jatte et non de plat pour tous les récipients. |
Jatte/Plat 1 | Récipient généralement hémisphérique, sans moyens de préhension, muni d’une lèvre à marli et
d’un fond plat ou d'une base débordante. |
Jatte/Plat 1-1 | Récipient hémisphérique, muni d’un marli court parfois cannelé. Les dimensions sont variables. Datation : XVIIe Lieu de découverte : Dijon, rue Berlier Département : 21 |  |
Jatte/Plat 1-2 | Récipient hémisphérique, muni d’un large marli dont l’extrémité arrondie est plus ou moins
marquée. Datation : Fin XVIe Lieu de découverte : Decize, Groupe scolaire Monnot Département : 58 |  |
Jatte/Plat 1-3 | Récipient avec les mêmes caractéristiques générales que la jatte 1-2 mais dont le marli est très
nettement marqué par une inflexion. Datation : XVIIe – Début XVIIIe Lieu de découverte : Autun, rues St Antoine et Lauchien le Boucher Département : 71 |  |
Jatte/Plat 1-4 | Récipient hémisphérique muni d'un marli curviligne. Le type de fond reste hypothétique car aucune forme complète de ce
type n’a été mise au jour actuellement. Datation : 1e moitié XVIIe Lieu de découverte : Dijon, clinique Sainte-Marthe Département : 21 |  |
Jatte/Plat 1-5 | Récipient hémisphérique peu profond, muni d'un large marli horizontal et d'un fond plat. Datation : XVe - XVIe Lieu de découverte : Dijon, rue Berlier Département : 21 |  |
Jatte/Plat 2 | Récipient caréné, sans moyens de préhension, muni d’une lèvre à marli. Le type de fond reste
hypothétique car aucune forme complète de ce type n’a été mise au jour actuellement. |
Jatte/Plat 2-1 | Récipient caréné, muni d’une lèvre à marli court épaisse. Les dimensions sont variables. Datation : 1e moitié XVIe Lieu de découverte : Mâcon, Couvent de la Visitation Département : 71 |  |
Lèchefrite | Récipient bas de forme rectangulaire, avec ou sans moyens de préhension. |
Lèchefrite 1 | Récipient à parois tronconiques, sans moyens de préhension, avec ou sans bec verseur. |
Lèchefrite 1-1 | Récipient tronconique, muni d’une lèvre plus ou moins évasée et d’un fond plat ou débordant. Datation : XVIe - XVIIe Lieu de découverte : Crissey, Rue principale Département : 71 |  |
Lèchefrite 1-2 | Récipient avec les mêmes caractéristiques générales que le lèchefrite 1-1 mais de hauteur
beaucoup plus réduite et à fond plat. Datation : XVIe – XVIIe Lieu de découverte : Dijon, rue Berlier Département : 21 |  |
Lèchefrite 1-3 | Récipient tronconique, muni d’une lèvre à méplat à bec verseur et d’un fond
plat. Datation : 2nd moitié XIIIe Lieu de découverte : Decize, Groupe scolaire Monnot Département : 58 |  |
Lèchefrite 2 | Récipient à parois verticales, sans moyens de préhension, avec ou sans bec verseur. |
Lèchefrite 2-1 | Récipient à parois verticales parfois renflées, muni d’une lèvre dans le prolongement de la panse et d’un
fond plat. Les dimensions sont variables. Datation : Fin XVe – XVIIe Lieu de découverte : Lans, Grande Rue - La Corvée Département : 71 |  |
Lèchefrite 2-2 | Récipient à parois verticales, muni d’une lèvre à méplat pouvant être à inflexion et d’un fond plat. Datation : XIVe Lieu de découverte : Dijon, boulevard de la Trémouille Département : 21 |  |
Lèchefrite 3 | Récipient à parois tronconiques, avec moyens de préhension, avec ou sans bec verseur. |
Lèchefrite 3-1 | Récipient tronconique, muni d’une lèvre dans le prolongement de la panse, d’un manche tubulaire
creux et d’un fond plat. Datation : XVe – Début XVIIe Lieu de découverte : Dijon, place de la République Département : 21 |  |
Poêlon | Récipient creux dont la caractéristique principale est de posséder un manche tubulaire. |
Poêlon 1 | Récipient creux, dont la caractéristique principale est d'être muni d’un manche tubulaire proéminent. |
Poêlon 1-1 | Récipient quasi tronconique, muni d’une lèvre en bourrelet à laquelle se rattache le
manche creux. Datation : 2nd moitié XIIIe Lieu de découverte : Vézelay, rue des Bochards Département : 89 |  |
Tasse | Récipient trapu, avec moyen de préhension, pouvant être muni d'un bec verseur. |
Tasse 1 | Récipient de forme générale « en S », muni d’une anse de préhension latérale et d’un fond sur pied. |
Tasse 1-1 | Récipient « en S », muni d’une anse latérale pouvant être bifide
se rattachant à la lèvre. Datation : XIVe - XVe Lieu de découverte : Tracy sur Loire, atelier des « Poteries » Département : 58 |  |
Tasse 1-2 | Récipient avec les mêmes caractéristiques principales que la tasse 1-1 mais muni d’une lèvre
pouvant être godronnée et dont le pied est plus marqué. L’existence d’une anse latérale est assurée
par analogie avec de nombreux autres fragments. Datation : XIVe - XVe Lieu de découverte : Tracy sur Loire, atelier des « Poteries » Département : 58 |  |
Tasse 2 | Récipient tronconique, muni d’une anse de préhension latérale et d’un fond plat ou d'une base
débordante. |
Tasse 2-1 | Récipient tronconique, muni d’une lèvre évasée agrémentée ou non d’un bec verseur et d'une base débordante. Datation : XIVe Lieu de découverte : Autun, rue Châtelet Département : 71 |  |
Tèle à lait | Récipient de forme générale très évasée, avec ou sans moyens de préhension, et muni d’un
système verseur. |
Tèle à lait 1 | Récipient avec moyens de préhension, muni d’un bec tubulaire en guise de système verseur. |
Tèle à lait 1-1 | Récipient hémisphérique, muni d’une lèvre épaisse et deux
anses latérales courtes. Les anses peuvent comporter un décor poucier et la panse une bande
digitée. Datation : 2nd moitié XIVe Lieu de découverte : Saint-Martin-du-Mont, Les Bordes - Bois de Cestres Département : 21 |  |
Terrine | Récipient de forme générale évasée, avec ou sans moyens de préhension. Il se distingue de
la jatte par sa forme générale tronconique. |
Terrine 1 | Récipient tronconique à fond plat ou base débordante, dont la caractéristique principale est d’être
démuni de moyens de préhension. |
Terrine 1-1 | Récipient tronconique, muni d’une lèvre à marli horizontal ou oblique. Datation : Fin XVIe Lieu de découverte : Sevrey, Port Guillot Département : 71 |  |
Terrine 1-2 | Récipient tronconique, muni d’une lèvre à large marli pouvant être infléchi. Datation : 2nd moitié XVIIe – Début XVIIIe Lieu de découverte : Dijon, rue Berlier Département : 21 |  |
Terrine 1-3 | Récipient tronconique, muni d’une lèvre évasée pouvant être à inflexion. Datation : 2nd moitié XIVe Lieu de découverte : Saint-Martin-du-Mont, Les Bordes - Bois de Cestres Département : 21 |  |
Terrine 2 | Récipient tronconique, muni de deux moyens de préhension et d’un fond plat ou d'une base
débordante. |
Terrine 2-1 | Récipient tronconique, muni d’une lèvre à marli et de deux anses latérales courtes. Datation : Fin XVIe Lieu de découverte : Sevrey, Port Guillot Département : 71 |  |
Terrine 2-2 | Récipient tronconique, muni d’une lèvre à bandeau court et de deux tenons latéraux
horizontaux. Datation : Fin XVIIe Lieu de découverte : Decize, Groupe scolaire Monnot Département : 58 |  |
Terrine 3 | Récipient tronconique, dont la caractéristique principale est d’être muni à la fois de moyens de
préhension et de podes. |
Terrine 3-1 | Récipient tronconique, muni d’une lèvre à collerette et de deux anses latérales élancées. Datation : 2nd moitié XVIIe Lieu de découverte : Chalon-sur-Saône, couvent des Visitandines Département : 71 |  |
Autres formes | Il s’agit de toutes les autres formes en terre cuite appartenant au vaisselier et plus généralement au
mobilier domestique. |
Couvercle | Ustensile creux ou plat, venant couvrir un autre récipient (pot, marmite…) dans le but de maintenir
au chaud son contenu lors de la cuisson ou du service. |
Couvercle 1 (Couvercle 2 Centre-Ouest) | Ustensile creux conique, muni d’un tenon sommital. |
Couvercle 1-1 (couvercle 2-2 Centre-Ouest) | Ustensile conique, muni d’une assise plus ou moins évasée. Datation : Fin XVe – XVIIe Lieu de découverte : Sevrey, Les Tupiniers Département : 71 |  |
Couvercle 1-2 (couvercle 2-3 Centre-Ouest) | Ustensile conique, muni d’une assise verticale et agrémenté d'une collerette. Datation : XIVe Lieu de découverte : Dijon, boulevard de la Trémouille Département : 21 |  |
Couvercle 2 | Ustensile creux caréné, muni d’un moyen de préhension sommital. |
Couvercle 2-1 | Ustensile légèrement caréné, muni d’une assise évasée et d’un tenon sommital. Datation : Fin XIVe - XVe Lieu de découverte : Autun, rues St Antoine et Lauchien le Boucher Département : 71 |  |
Couvercle 2-2 | Ustensile caréné, muni d’une assise verticale ou évasée et d’une anse sommitale.
Les dimensions sont variables. Datation : Fin XVIe Lieu de découverte : Decize, Groupe scolaire Monnot Département : 58 |  |
Couvercle 3 | Ustensile plat, muni d’un moyen de préhension sommital. |
Couvercle 3-1 | Ustensile plat, muni d’une anse ronde étroite plus ou moins épaisse. Les dimensions sont variables. Datation : XVIe - XVIIe Lieu de découverte : Chalon-sur-Saône, Hôtel de Ville Département : 71 |  |
Couvercle 3-2 | Ustensile plat, muni d’une anse sommitale élancée. Datation : Fin XIIIe - XIVe Lieu de découverte : Vézelay, rue des Bochards Département : 89 |  |
Couvercle 3-3 | Ustensile plat, muni d'un tenon sommital. Datation : Fin XVe – XVIIe Lieu de découverte : Sevrey, Les Tupiniers Département : 71 |  |
Couvre-feu | Ustensile dont la forme générale s’apparente au couvercle, mais généralement de plus grandes
dimensions et à parois plus épaisses. Il est destiné à recouvrir les braises. |
Couvre-feu 1 | Ustensile conique, avec ou sans sans moyens de préhension. |
Couvre-feu 1-1 | Ustensile conique, muni d’une assise en crosse. Datation : Fin XIIIe - XIVe Lieu de découverte : Vézelay, rue des Bochards Département : 89 |  |
Couvre-feu 2 | Ustensile hémisphérique, avec ou sans moyens de préhension, muni d’une assise saillante
parfois cannelée. L’assise peut aussi être surmontée de bandes rapportées de renforcement. |
Couvre-feu 2-1 | Ustensile hémisphérique, muni d’une assise à méplat, pouvant être à inflexion. Datation : Fin XIVe - XVe Lieu de découverte : Autun, rues St Antoine et Lauchien le Boucher Département : 71 |  |
Couvre-feu 2-2 | Ustensile hémisphérique, muni d’une assise « en T ».
Datation : XIIIe - XVIe Lieu de découverte : Autun, La Genetoye Département : 71 |  |
Couvre-feu 2-3 | Ustensile hémisphérique, muni d’une assise pouvant être cannelée. Les dimensions sont variables. Datation : Fin XVe – XVIIe Lieu de découverte : Sevrey, Les Tupiniers Département : 71 |  |
Couvre-feu 2-4 | Ustensile avec les mêmes caractéristiques générales que le couvre-feu 2-3 mais muni de tenons
latéraux. Datation : Fin XVe – XVIIe Lieu de découverte : Sevrey, Les Tupiniers Département : 71 |  |
Couvre-feu 3 | Ustensile caréné, avec ou sans moyens de préhension. |
Couvre-feu 3-1 | Ustensile légèrement caréné, muni d’une assise verticale. Datation : XVIe - XVIIe Lieu de découverte : Crissey, Rue principale Département : 71 |  |
Couvre-feu 4 (Couvre-feu 1 Centre-Ouest) | Ustensile dont la caractéristique principale est de comporter des trous sur toute la paroi. Il s'agit d'une hypothèse qu'il reste à démontrer. |
Couvre-feu 4-1 | Ustensile tronconique perforé sur l'ensemble de la paroi. |  |
Cuvier | Ustensile évasé de grande taille, sans moyens de préhension et à vocation hygiénique. La lèvre
et/ou le haut de la panse peuvent comporter des bandes digitées de renforcement. Il est aussi
appelé « ponne ». |
Cuvier 1 | Ustensile à panse élargie, sans col mais dont le haut de panse est marqué. Le type de fond reste
hypothétique car aucune forme complète de ce type n’a été mis au jour actuellement. |
Cuvier 1-1 (Vase-réserve 2-1 Centre-Ouest ?) | Ustensile à panse élargie, muni
d’une lèvre à inflexion interne. Datation : 2nd moitié XIIIe Lieu de découverte : Decize, Groupe scolaire Monnot Département : 58 |  |
Lampe | Ustensile de forme variée, destiné à l’éclairage, avec ou sans moyens de préhension et bec verseur. |
Lampe 1 | Ustensile dont la caractéristique principale est d’être muni d’un pied. |
Lampe 1-1 | Ustensile à réceptacle hémisphérique auquel s’attachent deux petits becs verseurs
opposés, une anse latérale et muni d’une coupelle inférieure. Datation : 2nd moitié XIIIe Lieu de découverte : Decize, Groupe scolaire Monnot Département : 58 |  |
Lampe 1-2 | Ustensile à réceptacle hémisphérique et muni d’une coupelle intermédiaire. Datation : Fin XIIIe – Début XIVe Lieu de découverte : Ahuy, Devant la Ferme Département : 21 |  |
Réchaud | Ustensile très ouvert dont la partie supérieure forme un support pour caler un
récipient. |
Réchaud 1 | Ustensile perforé dont le diamètre de l’embouchure est égal à celui du fond, qui est plat. |
Réchaud 1-1 | Ustensile cylindrique percé à la fois d’une large fenêtre sur le haut
de la panse, et de trous d’aération sur le bas de la panse. Datation : XVIe Lieu de découverte : Cluny, abbaye, infirmerie Département : 71 |  |
Tirelire | Ustensile de petite taille, dont l’unique ouverture consiste en une fente sur le haut de la panse. |
Tirelire 1 | Ustensile de forme globulaire ou à panse élargie, muni d’un tenon sommital. |
Tirelire 1-1 | Ustensile globulaire ou à panse élargie muni d’un tenon sommital conique et d’une base
débordante. Datation : 2nd moitié XIIIe Lieu de découverte : Decize, Groupe scolaire Monnot Département : 58 |  |
Tirelire 1-2 | Ustensile globulaire ou à panse élargie muni d’un tenon sommital plat et d’un fond plat. Datation : 2nd moitié XIIIe - Début XVe Lieu de découverte : Cluny, Maison des Dragons Département : 71 |  |